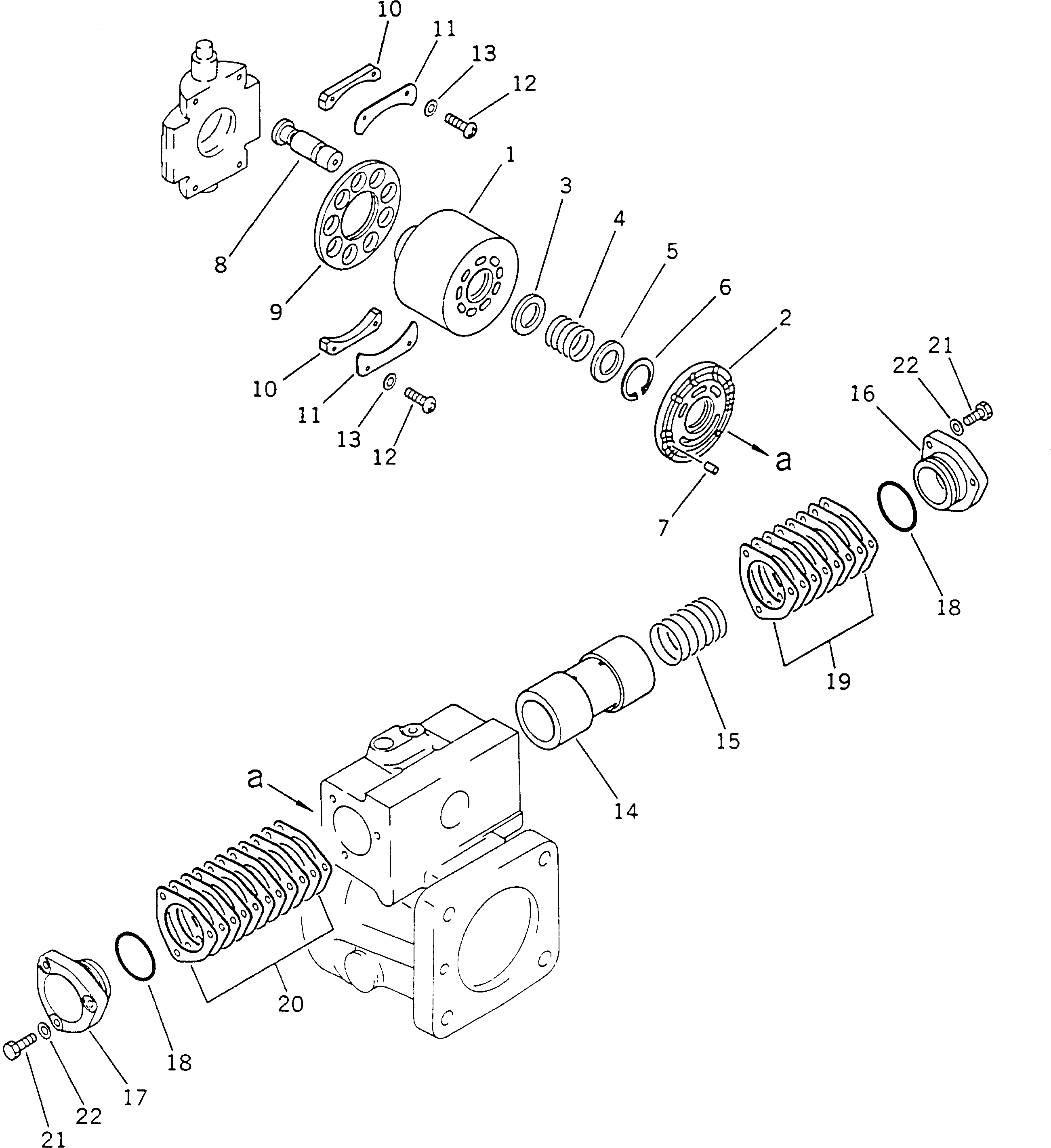
Запчасти Komatsu PC60L-6 ГИДР. НАСОС. (ЗАДН. /) УПРАВЛ-Е РАБОЧИМ ОБОРУДОВАНИЕМ

Схема запчастей Komatsu PC60L-6 - ГИДР. НАСОС. (ЗАДН. /) УПРАВЛ-Е РАБОЧИМ ОБОРУДОВАНИЕМ
FIT
1:1
100%

Артикул

Название

Примечание

Количество

|$0

708-21-04033

PUMP ASS'Y,(HPV35+35)

|$1

708-21-04032

PUMP ASS'Y,(HPV35+35)

|$2

708-21-04031

PUMP ASS'Y,(HPV35+35)

|$4

708-21-04113

PUMP SUB ASS'Y

|$5

708-21-04112

PUMP SUB ASS'Y

|$6

708-21-04111

PUMP SUB ASS'Y

|$8

708-21-00091

BLOCK ASS'Y,REAR

|$9

708-21-00090

BLOCK ASS'Y,REAR

1

708-21-13160

BLOCK,CYLINDER, REAR

2

708-21-13621

PLATE,REAR

2

708-21-13620

PLATE,REAR

3

708-21-13130

WASHER

4

708-21-13140

SPRING

5

708-21-13120

WASHER

6

708-21-13150

RING,SNAP

7

720-68-19610

PIN

8

708-21-13352

PISTON SUB ASS'Y

9

708-21-13340

RETAINER,SHOE

10

708-21-05021

SPACER KIT

10

SPACER

10

SPACER

10

SPACER

11

708-21-13450

RETAINER,BEARING

12

708-23-13460

SCREW

13

01643-30623

WASHER

14

708-21-14111

PISTON

15

708-21-14130

SPRING

16

708-21-14230

CAP

17

708-21-14150

CAP

18

07000-03045

O-RING

19

708-21-05040

SHIM KIT

19

SHIM

19

SHIM

19

SHIM

19

SHIM

20

708-21-05030

SHIM KIT

20

SHIM

20

SHIM

20

SHIM

20

SHIM

21

01010-30835

BOLT

22

01643-30823

WASHER

Выбрано товаров: 0