Запчасти Komatsu PC60L-6 ГИДРАВЛ УПРАВЛЯЮЩ. КЛАПАН¤ ЛЕВ. (/) УПРАВЛ-Е РАБОЧИМ ОБОРУДОВАНИЕМ

Схема запчастей Komatsu PC60L-6 - ГИДРАВЛ УПРАВЛЯЮЩ. КЛАПАН¤ ЛЕВ. (/) УПРАВЛ-Е РАБОЧИМ ОБОРУДОВАНИЕМ
FIT
1:1
100%

Артикул

Название

Примечание

Количество

|$0

709-26-13104

VALVE ASS'Y

|$1

709-26-13103

VALVE ASS'Y

|$2

709-26-13102

VALVE ASS'Y

|$3

709-26-13101

VALVE ASS'Y

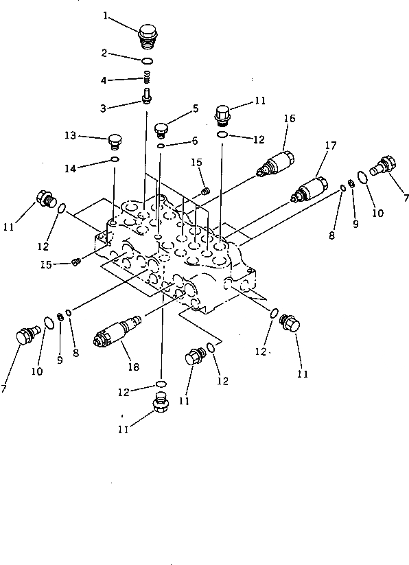
1

709-25-11640

PLUG

2

07000-12020

O-RING

3

709-25-11650

VALVE

4

709-25-11361

SPRING

5

07040-11409

PLUG

6

07002-01423

O-RING

7

709-25-11380

PLUG

8

07000-12010

O-RING

9

07001-02010

RING,BACK-UP

10

709-25-11390

O-RING

11

708-7B-16570

PLUG

11

706-77-72280

PLUG

12

07002-12034

O-RING

13

07040-11409

PLUG

14

07002-01423

O-RING

15

07043-70108

PLUG

16

709-20-61700

VALVE ASS'Y,SUCTION AND SAFETY

17

709-20-61301

VALVE ASS'Y,SUCTION AND SAFETY

18

709-20-51800

RELIEF VALVE ASS'Y

Выбрано товаров: 23