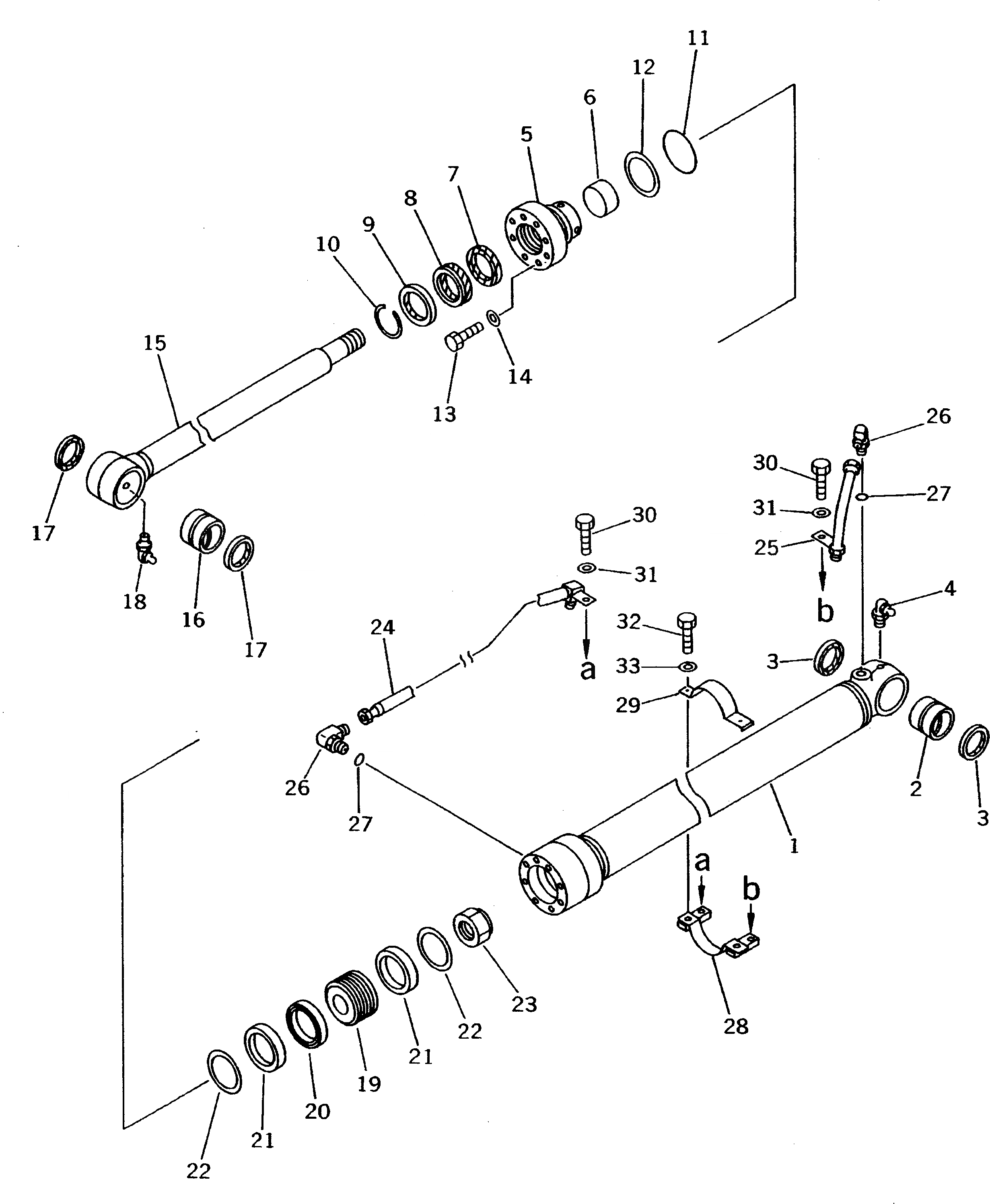
Запчасти Komatsu PC60L-6 ЦИЛИНДР КОВША РАБОЧЕЕ ОБОРУДОВАНИЕ

Схема запчастей Komatsu PC60L-6 - ЦИЛИНДР КОВША РАБОЧЕЕ ОБОРУДОВАНИЕ
FIT
1:1
100%

Артикул

Название

Примечание

Количество

|$0

20X-63-02220

CYLINDER ASS'Y

1

20X-63-74140

CYLINDER

2

707-76-60080

BUSHING

3

07145-00060

SEAL,DUST (KIT)

4

07020-00675

FITTING,GREASE

5

707-27-90610

HEAD,CYLINDER

6

707-52-90300

BUSHING

7

707-51-55630

RING,BUFFER (KIT)

8

707-51-55030

PACKING,ROD (KIT)

9

707-56-55510

SEAL,DUST (KIT)

10

07179-12069

RING,SNAP

11

07000-15085

O-RING (KIT)

12

707-35-90960

RING,BACK-UP (KIT)

13

01010-81465

BOLT

14

705-17-04980

WASHER

15

20X-63-74120

ROD,PISTON

16

707-76-60080

BUSHING

17

07145-00060

SEAL,DUST (KIT)

18

07020-00675

FITTING,GREASE

19

707-36-90230

PISTON

20

707-44-90180

RING,PISTON (KIT)

21

707-39-90110

RING,WEAR (KIT)

22

707-44-90911

RING

23

07165-13941

NUT

24

20X-63-74170

TUBE

25

20X-63-74180

TUBE

26

07235-10422

ELBOW

27

07002-12034

O-RING (KIT)

28

707-88-95650

BAND

29

707-88-96280

BAND

30

01010-51035

BOLT

31

01643-51032

WASHER

32

01010-51020

BOLT

33

01643-31032

WASHER

Выбрано товаров: 34