Качественные детали и логистика
Оригинальные и аналоговые запчасти с доставкой по России, Казахстану и Беларуси
©2022 PartSell ООО "Система" ИНН 2463123282 ОГРН 1212400004838
Центральный офис: г. Красноярск, Академика Киренского, д.87, пом.4
Телефон: 8 (800) 777-65-74 Email: zakaz@partsell.ru
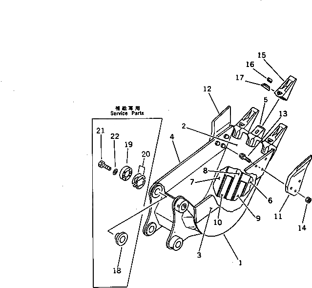
КОВШ¤ .M ШИР. MM
№
Артикул
Название
Примечание
Количество
|$0
201-926-0110
BUCKET ASS'Y
1
20X-926-2410
BUCKET
2
20X-926-2420
LIP (WELDED)
3
20X-926-1331
PLATE,L.H. (WELDED)
4
20X-926-1341
PLATE,R.H. (WELDED)
5
20X-70-23150
ADAPTER (WELDED)
6
20X-926-2350
PLATE (WELDED)
7
20X-926-2360
8
20X-926-2450
9
20X-926-2470
10
20X-926-2460
11
20X-933-1110
SIDE CUTTER,L.H.
12
20X-933-1120
SIDE CUTTER,R.H.
13
01802-02268
BOLT
14
01803-02228
NUT
15
20X-70-23160
TOOTH
16
203-70-43212
PIN
17
203-70-43220
LOCK
18
20X-70-24231
SPACER,(SERVICE PARTS)
19
20X-70-24241
PLATE,(SERVICE PARTS)
20
20X-70-24250
PLATE, 0.5MM,(SERVICE PARTS)
21
01010-51260
BOLT,(SERVICE PARTS)
22
01643-31232
WASHER,(SERVICE PARTS)
Выбрано товаров: 0