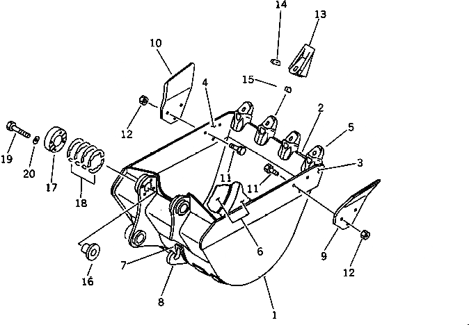
Запчасти Komatsu PC60L-6 КОВШ¤ .M ШИР. MM¤ (С КРЮК) (КРОМЕ ЯПОН.) РАБОЧЕЕ ОБОРУДОВАНИЕ

Схема запчастей Komatsu PC60L-6 - КОВШ¤ .M ШИР. MM¤ (С КРЮК) (КРОМЕ ЯПОН.) РАБОЧЕЕ ОБОРУДОВАНИЕ
FIT
1:1
100%

Артикул

Название

Примечание

Количество

|$0

201-70-00490

BUCKET ASS'Y

1

201-70-53150

BUCKET

2

201-70-53120

LIP (WELDED)

3

201-70-53140

PLATE,L.H. (WELDED)

4

201-70-53130

PLATE,R.H. (WELDED)

5

20X-70-23150

ADAPTER (WELDED)

6

201-70-53180

PLATE (WELDED)

7

201-70-53160

PLATE (WELDED)

8

201-70-53170

HOOK (WELDED)

9

20X-933-1110

SIDE CUTTER,L.H.

10

20X-933-1120

SIDE CUTTER,R.H.

11

01802-02268

BOLT

12

01803-02228

NUT

13

20X-70-23160

TOOTH

14

203-70-43212

PIN

15

203-70-43220

LOCK

16

20X-70-24231

SPACER

17

20X-70-24241

PLATE

18

20X-70-24250

PLATE, 0.5MM

19

01010-51260

BOLT

20

01643-31232

WASHER

Выбрано товаров: 21