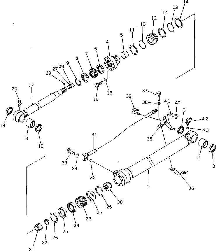
Запчасти Komatsu PC60L-6 ЦИЛИНДР РУКОЯТИ РАБОЧЕЕ ОБОРУДОВАНИЕ

Схема запчастей Komatsu PC60L-6 - ЦИЛИНДР РУКОЯТИ РАБОЧЕЕ ОБОРУДОВАНИЕ
FIT
1:1
100%

Артикул

Название

Примечание

Количество

|1

201-63-02210

CYLINDER ASS'Y \

1

201-63-64140

CYLINDER

2

707-76-60180

BUSHING

3

07145-00060

SEAL,DUST (KIT)

4

707-27-90620

HEAD,CYLINDER

5

707-52-90350

BUSHING

6

707-51-60630

RING,BUFFER (KIT)

7

707-51-60030

PACKING,ROD (KIT)

8

141-63-93270

SEAL,DUST (KIT)

9

07179-12074

RING,SNAP

10

07000-15085

O-RING (KIT)

11

707-35-90960

RING,BACK-UP (KIT)

12

707-71-32300

COLLAR

13

07000-15085

O-RING (KIT)

14

707-35-90960

RING,BACK-UP (KIT)

15

01010-81465

BOLT

16

705-17-04980

WASHER

17

201-63-64120

ROD,PISTON

18

707-76-60080

BUSHING

19

07145-00060

SEAL,DUST (KIT)

20

07020-00675

FITTING,GREASE

21

707-71-60691

PLUNGER

22

707-41-10580

WASHER

23

707-36-90300

PISTON

24

707-44-90180

RING,PISTON (KIT)

25

707-39-90110

RING,WEAR (KIT)

26

707-44-90911

RING

27

707-71-60100

PLUNGER

28

04260-00635

BALL

29

707-71-91280

CAP

30

07165-14244

NUT

31

201-63-64170

TUBE

32

07000-13025

O-RING (KIT)

33

01010-50850

BOLT

34

01643-50823

WASHER

35

707-88-95640

BRACKET

36

707-88-96290

BAND

37

01010-51035

BOLT

38

01643-51032

WASHER

39

07283-22236

CLIP

40

01599-01011

NUT

41

01643-31032

WASHER

42

07235-10422

ELBOW

43

07002-12034

O-RING (KIT)

Выбрано товаров: 44