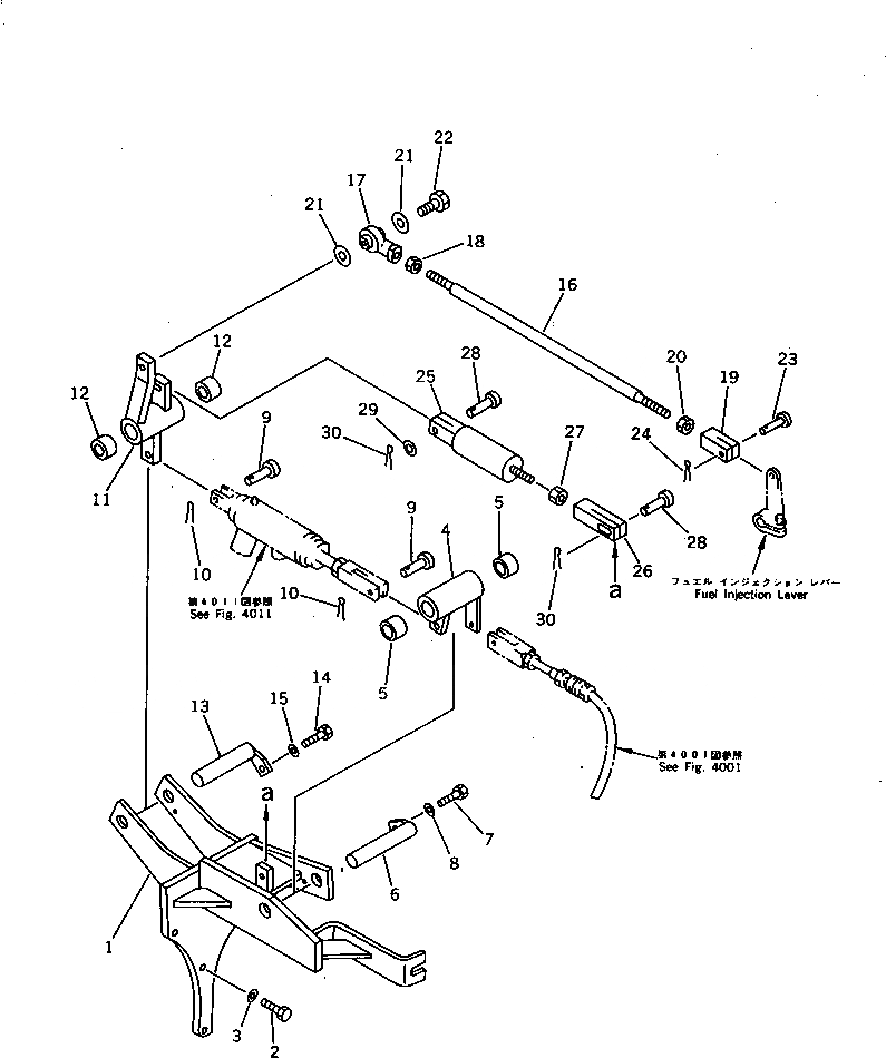
Запчасти Komatsu PC60L-6 МЕХАНИЗМ УПРАВЛ-Я ПОДАЧЕЙ ТОПЛИВА (ДЛЯ УДЛИНН. РЫЧАГ УПРАВЛ-Е) СИСТЕМА УПРАВЛЕНИЯ И ОСНОВНАЯ РАМА

Схема запчастей Komatsu PC60L-6 - МЕХАНИЗМ УПРАВЛ-Я ПОДАЧЕЙ ТОПЛИВА (ДЛЯ УДЛИНН. РЫЧАГ УПРАВЛ-Е) СИСТЕМА УПРАВЛЕНИЯ И ОСНОВНАЯ РАМА
FIT
1:1
100%

Артикул

Название

Примечание

Количество

1

201-01-63111

BRACKET

2

01010-51045

BOLT

3

01643-31032

WASHER

4

201-01-63140

LEVER

5

09350-02220

BUSHING

6

203-43-42910

SHAFT

7

01010-50816

BOLT

8

01643-30823

WASHER

9

04205-11028

PIN

10

04050-13020

PIN,COTTER

11

201-01-63151

LEVER

12

09350-02220

BUSHING

13

203-43-42910

SHAFT

|13

201-01-63160

SHAFT

14

01010-50816

BOLT

15

01643-30823

WASHER

16

20X-43-22550

ROD

17

04250-61056

END,ROD¤ L.H. THREAD

18

01508-41006

NUT,L.H. THREAD

19

201-43-21370

YOKE

20

01582-11008

NUT

21

01643-31032

WASHER

22

01010-51030

BOLT

23

04205-10622

PIN

24

04050-11610

PIN,COTTER

25

201-01-63180

SPRING ASS'Y

26

04210-21040

YOKE

27

01582-21008

NUT

28

04205-11030

PIN

29

01641-21016

WASHER

30

04050-13020

PIN,COTTER

Выбрано товаров: 31