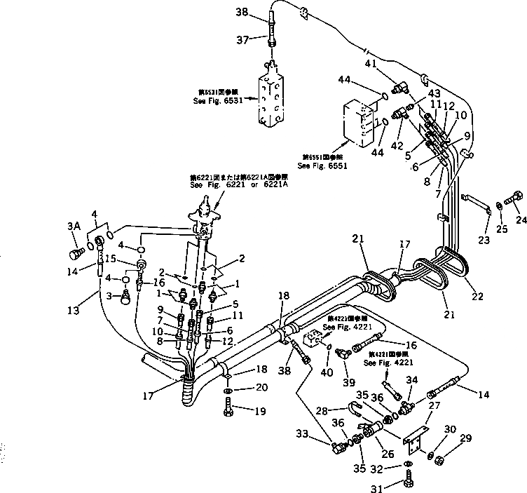
Запчасти Komatsu PC60L-6 ГИДРОЛИНИЯ (РАБОЧЕЕ ОБОРУДОВАНИЕ УПРАВЛ-Е) (ЛЕВ.) (ДЛЯ УДЛИНН. РЫЧАГ УПРАВЛ-Е) (JIS PATTERN)(№8-) СИСТЕМА УПРАВЛЕНИЯ И ОСНОВНАЯ РАМА

Схема запчастей Komatsu PC60L-6 - ГИДРОЛИНИЯ (РАБОЧЕЕ ОБОРУДОВАНИЕ УПРАВЛ-Е) (ЛЕВ.) (ДЛЯ УДЛИНН. РЫЧАГ УПРАВЛ-Е) (JIS PATTERN)(№8-) СИСТЕМА УПРАВЛЕНИЯ И ОСНОВНАЯ РАМА
FIT
1:1
100%

Артикул

Название

Примечание

Количество

1

07230-20210

UNION

2

07002-01423

O-RING

3

203-62-57730

BOLT,JOINT

3A

702-16-53240

PLUG

4

07000-02018

O-RING

5

07102-20225

HOSE

6

203-62-57950

MARK¤ 5

7

07102-20225

HOSE

8

203-62-57960

MARK¤ 6

9

07102-20225

HOSE

10

203-62-57970

MARK¤ 7

11

07102-20224

HOSE

12

203-62-57980

MARK¤ 8

13

201-62-64440

HOSE

14

203-62-58170

MARK¤ P2

15

201-62-64450

HOSE

16

203-62-58220

MARK¤ T2

17

08034-00823

BAND

18

21T-06-11950

CLIP

19

01010-51220

BOLT

20

01643-31232

WASHER

21

201-06-61221

GROMMET

22

23T-61-12130

GROMMET

23

201-62-64350

CLIP

24

01010-51020

BOLT

25

01643-31032

WASHER

26

201-62-64601

VALVE,P.P.C. LOCK

27

201-62-64612

PLATE

28

07283-23442

CLIP

29

01599-01011

NUT

30

01643-31032

WASHER

31

01010-51020

BOLT

32

01643-31032

WASHER

33

07235-10210

ELBOW

34

208-62-17550

TEE

35

203-62-58860

NIPPLE

36

07002-01423

O-RING

37

07102-20233

HOSE

38

203-62-58160

MARK¤ P1

39

07235-10210

ELBOW

40

07002-01423

O-RING

41

07235-10210

ELBOW

42

709-12-12370

ELBOW

43

07042-30108

PLUG

44

07002-01423

O-RING

Выбрано товаров: 45