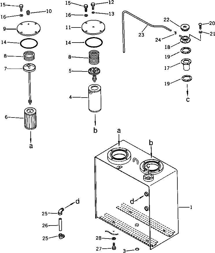
Запчасти Komatsu PC60U-3 ГИДР. БАК. УПРАВЛ-Е РАБОЧИМ ОБОРУДОВАНИЕМ

Схема запчастей Komatsu PC60U-3 - ГИДР. БАК. УПРАВЛ-Е РАБОЧИМ ОБОРУДОВАНИЕМ
FIT
1:1
100%

Артикул

Название

Примечание

Количество

|$0

201-60-00094

HYDRAULIC TANK ASS'Y

1

201-60-42110

TANK

2

07044-12412

PLUG

3

07002-02434

O-RING

4

07063-01054

ELEMENT

5

125-62-21150

VALVE ASS'Y

6

201-60-22150

STRAINER

7

201-60-22160

ROD

8

125-62-21170

SPRING

9

201-60-22170

COVER

10

07042-20108

PLUG

11

201-60-22140

COVER

12

07060-01230

BOLT

13

07002-01223

O-RING

14

07000-02140

O-RING

15

01010-31230

BOLT

16

01602-01236

WASHER,SPRING

17

205-60-51480

SCREEN

18

201-60-12171

FILLER,NECK

19

205-60-51460

GASKET

20

01210-50516

SCREW

21

01601-00513

WASHER,SPRING

22

201-60-12190

CAP ASS'Y

23

07270-00890

TUBE

24

04059-01010

WIRE

25

203-60-31100

ELBOW ASS'Y

26

203-60-31160

TUBE

27

01010-31230

BOLT

28

01605-11226

WASHER

Выбрано товаров: 29