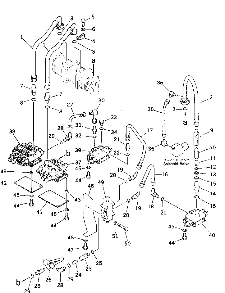
Запчасти Komatsu PC60U-3 ГИДРОЛИНИЯ (ИЗ НАСОСА В КЛАПАН) УПРАВЛ-Е РАБОЧИМ ОБОРУДОВАНИЕМ

Схема запчастей Komatsu PC60U-3 - ГИДРОЛИНИЯ (ИЗ НАСОСА В КЛАПАН) УПРАВЛ-Е РАБОЧИМ ОБОРУДОВАНИЕМ
FIT
1:1
100%

Артикул

Название

Примечание

Количество

1

201-62-41120

HOSE

2

201-62-41130

HOSE

3

07000-13025

O-RING

4

07371-30638

FLANGE,SPLIT

5

01010-50830

BOLT

6

01602-20825

WASHER,SPRING

7

201-62-31820

NIPPLE

8

07002-12434

O-RING

|$8

201-62-41201

VALVE ASS'Y

9

201-62-41211

BODY

10

201-62-41221

POPPET

11

141-14-32241

SPRING

12

201-62-31530

SEAT

13

04065-02212

RING,SNAP

14

203-62-32660

NIPPLE

15

07002-12434

O-RING

16

07123-00404

HOSE

17

07123-00405

HOSE

18

07235-10422

ELBOW

19

07236-10422

ELBOW

20

07002-12034

O-RING

21

232-60-14271

NIPPLE

22

07002-12434

O-RING

23

20X-62-11260

BODY

24

20X-62-11270

POPPET

25

07002-12034

O-RING

26

201-62-48180

TUBE

27

201-62-38190

TUBE

28

07235-10422

ELBOW

29

07002-12034

O-RING

30

201-62-31350

TUBE

31

07230-10422

UNION

32

07002-12034

O-RING

33

07040-12012

PLUG

34

07002-12034

O-RING

35

203-62-32820

HOSE

36

202-62-21430

ELBOW

37

700-23-46001

VALVE ASS'Y

38

700-24-43000

VALVE ASS'Y

39

700-21-38001

VALVE ASS'Y

40

700-21-39002

VALVE ASS'Y

41

201-60-41120

SHEET

42

201-60-48110

SHEET

43

201-60-41130

BUSHING

44

01010-50825

BOLT

45

01602-20825

WASHER,SPRING

46

201-62-31330

BRACKET

47

01010-51225

BOLT

48

01643-31232

WASHER

49

702-15-14002

VALVE ASS'Y

50

01010-51075

BOLT

51

01602-21030

WASHER,SPRING

Выбрано товаров: 52