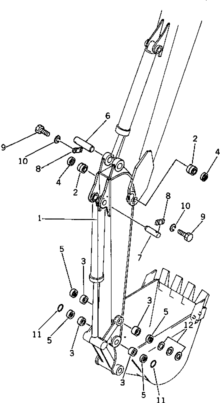
Запчасти Komatsu PC60U-3 РУКОЯТЬ РАБОЧЕЕ ОБОРУДОВАНИЕ

Схема запчастей Komatsu PC60U-3 - РУКОЯТЬ РАБОЧЕЕ ОБОРУДОВАНИЕ
FIT
1:1
100%

Артикул

Название

Примечание

Количество

|$0

201-70-00220

ARM ASS'Y

1

ARM

2

201-70-21181

BUSHING

3

201-70-22141

BUSHING

4

140-09-12510

SEAL,DUST

5

130-09-12931

SEAL,DUST

6

201-70-22120

PIN

7

201-70-22130

PIN

8

04082-00212

LOCK

9

01010-31230

BOLT

10

01602-01236

WASHER,SPRING

11

175-30-16210

O-RING

12

201-70-22150

SPACER, 1.0MM

12

135-70-13251

SPACER, 1.6MM

12

135-70-13290

SPACER, 3.2MM

Выбрано товаров: 15