Запчасти Komatsu PC60U-3 МЕХ-М УПРАВЛ-Я РАБОЧ. ОБОРУД-EM (ДЛЯ СТРЕЛЫ¤ КОВШ) ПОВОРОТН. И СИСТЕМА УПРАВЛЕНИЯ

Схема запчастей Komatsu PC60U-3 - МЕХ-М УПРАВЛ-Я РАБОЧ. ОБОРУД-EM (ДЛЯ СТРЕЛЫ¤ КОВШ) ПОВОРОТН. И СИСТЕМА УПРАВЛЕНИЯ
FIT
1:1
100%

Артикул

Название

Примечание

Количество

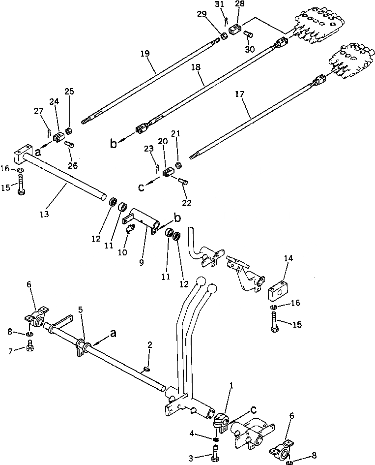
1

201-43-31130

LEVER

2

04010-00732

KEY

3

01010-31245

BOLT

4

01602-01236

WASHER,SPRING

5

201-43-31180

SHAFT

6

06125-02557

BEARING

7

01010-31020

BOLT

8

01602-01030

WASHER,SPRING

9

201-43-31210

LEVER

10

07020-00900

FITTING,GREASE

11

06120-02520

BEARING

12

06122-02504

SEAL,BEARING

13

201-43-31190

SHAFT

14

201-43-21290

BRACKET

15

01010-51060

BOLT

16

01602-21030

WASHER,SPRING

17

201-43-31290

ROD

18

201-43-31260

ROD

19

201-43-21510

ROD

20

04211-21055

YOKE

21

01582-11008

NUT

22

04205-11026

PIN

23

04050-13015

PIN,COTTER

24

04210-21040

YOKE

25

01582-11008

NUT

26

04205-11026

PIN

27

04050-13015

PIN,COTTER

28

201-43-21370

YOKE

29

01582-11008

NUT

30

04205-10622

PIN

31

04050-11610

PIN,COTTER

Выбрано товаров: 0