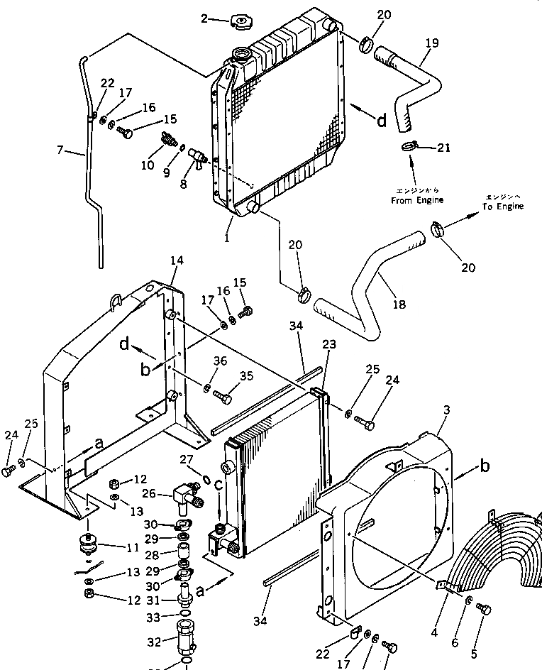
Запчасти Komatsu PC60U-3 РАДИАТОР И МАСЛООХЛАДИТЕЛЬ КОМПОНЕНТЫ ДВИГАТЕЛЯ И ЭЛЕКТРИКА

Схема запчастей Komatsu PC60U-3 - РАДИАТОР И МАСЛООХЛАДИТЕЛЬ КОМПОНЕНТЫ ДВИГАТЕЛЯ И ЭЛЕКТРИКА
FIT
1:1
100%

Артикул

Название

Примечание

Количество

|1

201-03-00021

RADIATOR ASS'Y

1

201-03-21111

CORE ASS'Y

2

113-03-21240

CAP

3

201-03-41120

SHROUD

4

201-03-31141

WIRE NET

5

01010-31020

BOLT

6

01602-01030

WASHER,SPRING

7

113-03-21140

TUBE

8

201-03-21180

JOINT

9

07000-01007

O-RING

10

20R-03-11230

VALVE

11

20S-03-11330

CUSHION

12

01580-11008

NUT

13

01643-31032

WASHER

14

201-03-31110

BRACKET

15

01010-31020

BOLT

16

01602-01030

WASHER,SPRING

17

01643-31032

WASHER

18

201-03-41140

HOSE

19

201-03-41130

HOSE

20

07281-00549

CLAMP

21

07281-00489

CLAMP

22

08036-10810

CLIP

23

201-03-31120

OIL COOLER ASS'Y

24

01010-31020

BOLT

25

01602-01030

WASHER,SPRING

26

201-03-31160

ELBOW

27

07002-02434

O-RING

28

07332-00600

COUPLING ASS'Y

29

07332-50600

GASKET

30

07332-60600

CLAMP

31

201-62-12451

TUBE

32

20X-62-11800

VALVE ASS'Y

33

07002-03334

O-RING

34

201-03-31190

SEAL

35

01010-50820

BOLT

36

01602-20825

WASHER,SPRING

Выбрано товаров: 37