Запчасти Komatsu PC60U-3 ЦИЛИНДР КОВША УПРАВЛ-Е РАБОЧИМ ОБОРУДОВАНИЕМ

Схема запчастей Komatsu PC60U-3 - ЦИЛИНДР КОВША УПРАВЛ-Е РАБОЧИМ ОБОРУДОВАНИЕМ
FIT
1:1
100%

Артикул

Название

Примечание

Количество

|1

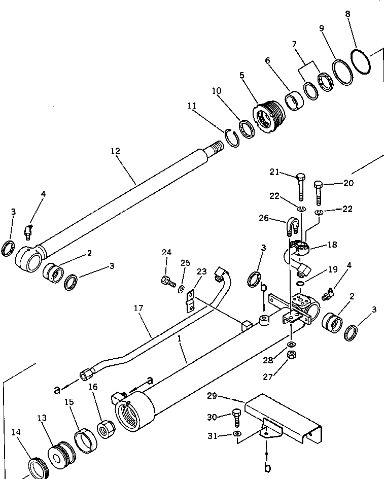
201-63-26700

BUCKET CYLINDER A.

1

201-63-26740

CYLINDER

2

07144-10505

BUSHING

3

07145-00050

SEAL,DUST

4

07020-00900

FITTING,GREASE

5

707-29-90390

HEAD,CYLINDER

6

07177-05530

BUSHING

7

707-51-55211

PACKING,ROD

8

07000-12095

O-RING

9

07001-02095

RING,BACK-UP

10

707-56-55510

SEAL,DUST

11

07179-00077

RING,SNAP

12

201-63-26720

ROD,PISTON

13

707-36-90280

PISTON

14

707-44-90080

RING,PISTON

15

07155-00925

RING,WEAR

16

07165-13638

NUT

17

201-63-26770

TUBE

18

201-63-26580

TUBE

19

07000-13025

O-RING

20

01010-50840

BOLT

21

01010-50850

BOLT

22

01602-20825

WASHER,SPRING

23

201-63-26391

CLIP

24

01010-51020

BOLT

25

01602-21030

WASHER,SPRING

26

07283-12236

CLIP

27

01599-01011

NUT

28

01643-31032

WASHER

29

201-63-26590

GUARD

30

01010-51025

BOLT

31

01643-31032

WASHER

Выбрано товаров: 0