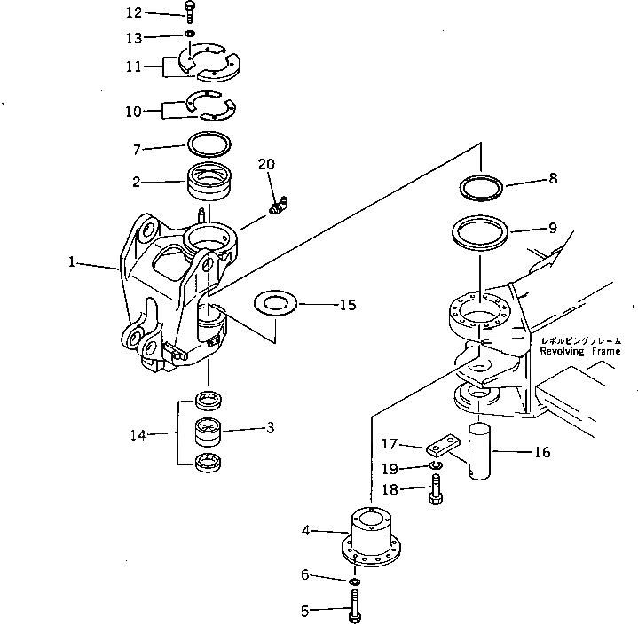
Запчасти Komatsu PC60U-5 КОРПУС ПОВОРОТА СТРЕЛЫ РАБОЧЕЕ ОБОРУДОВАНИЕ

Схема запчастей Komatsu PC60U-5 - КОРПУС ПОВОРОТА СТРЕЛЫ РАБОЧЕЕ ОБОРУДОВАНИЕ
FIT
1:1
100%

Артикул

Название

Примечание

Количество

|$0

201-70-00480

BRACKET ASS'Y

1

BRACKET,SWING

2

201-70-28430

BUSHING

3

201-70-28440

BUSHING

4

201-70-28460

SHAFT

5

01010-31450

BOLT

6

01643-31445

WASHER

7

201-70-28570

SEAL

8

201-70-28560

RING,SEAL

9

201-70-28470

SPACER

10

201-70-28590

PLATE

11

201-70-28580

COVER

12

01010-51230

BOLT

13

01643-31232

WASHER

14

07145-00100

SEAL,DUST

15

205-70-51440

SPACER

16

201-70-28450

PIN

17

04082-00616

LOCK

18

01010-51640

BOLT

19

01602-21648

WASHER,SPRING

20

07020-00675

FITTING,GREASE

Выбрано товаров: 21