Запчасти Komatsu PC60U-5 МЕХ-М УПРАВЛ-Я РАБОЧ. ОБОРУД-EM (ДЛЯ ПЕРЕДН. ОТВАЛ) ОПЦИОННЫЕ КОМПОНЕНТЫ

Схема запчастей Komatsu PC60U-5 - МЕХ-М УПРАВЛ-Я РАБОЧ. ОБОРУД-EM (ДЛЯ ПЕРЕДН. ОТВАЛ) ОПЦИОННЫЕ КОМПОНЕНТЫ
FIT
1:1
100%

Артикул

Название

Примечание

Количество

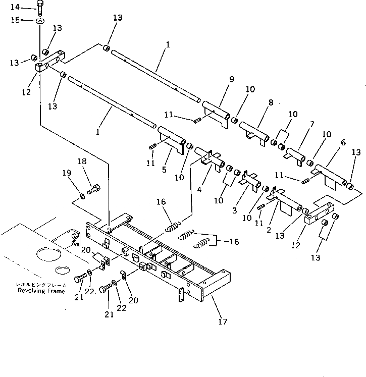
1

201-910-5650

SHAFT

2

201-910-5660

LEVER

3

20X-43-21431

LEVER

4

20X-43-21441

LEVER

5

20X-43-21830

LEVER

6

201-910-5670

LEVER

7

20X-43-21461

LEVER

8

20X-43-21471

LEVER

9

20X-43-21850

LEVER

10

203-43-31420

BUSHING

11

04025-00424

PIN,SPRING

12

20X-43-21481

BLOCK

13

203-43-31420

BUSHING

14

01010-51045

BOLT

15

205-54-53590

WASHER

16

203-43-43230

SPRING

17

201-910-5640

BRACKET

18

01010-51025

BOLT

19

01643-31032

WASHER

20

08036-01814

CLIP

21

01010-51020

BOLT

22

01643-31032

WASHER

Выбрано товаров: 0