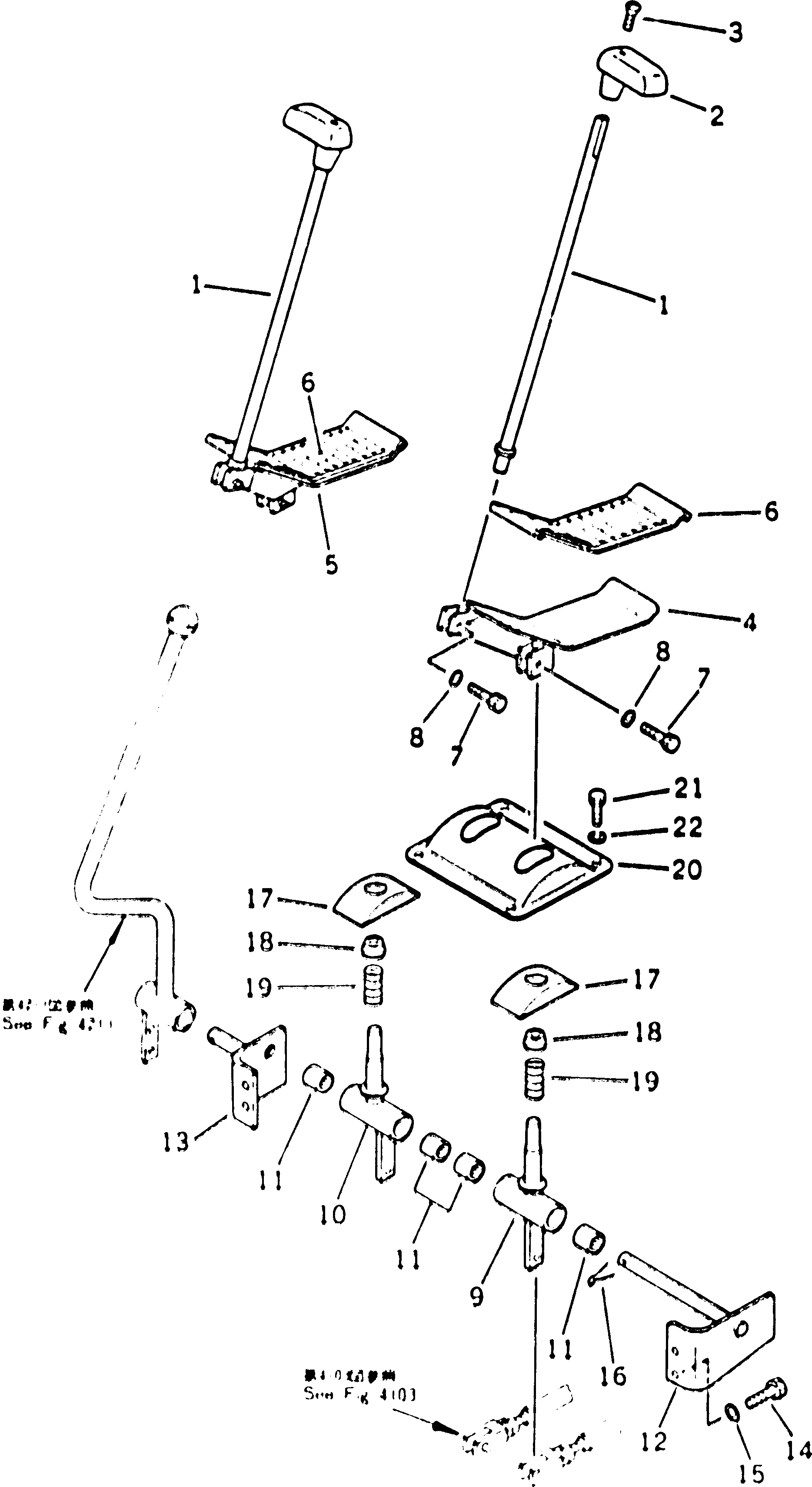
Запчасти Komatsu PC60U-5 РЫЧАГ УПРАВЛ-Я ХОДОМ И ПЕДАЛЬ СИСТЕМА УПРАВЛЕНИЯ

Схема запчастей Komatsu PC60U-5 - РЫЧАГ УПРАВЛ-Я ХОДОМ И ПЕДАЛЬ СИСТЕМА УПРАВЛЕНИЯ
FIT
1:1
100%

Артикул

Название

Примечание

Количество

1

20X-43-21580

LEVER

2

203-43-41340

KNOB

3

01225-40625

SCREW

4

203-43-41613

PEDAL,L.H.

4

203-43-41612

PEDAL,L.H.

5

203-43-41593

PEDAL,R.H.

5

203-43-41592

PEDAL,R.H.

6

205-43-71911

CAP,PEDAL

7

01010-50825

BOLT

8

01643-30823

WASHER

9

203-43-42375

LEVER,L.H.

9

203-43-42374

LEVER,L.H.

10

203-43-42673

LEVER,R.H.

10

203-43-42672

LEVER,R.H.

11

195-61-34130

BEARING

12

203-43-42721

SHAFT

13

202-43-58131

BRACKET

14

01010-51030

BOLT

15

01643-31032

WASHER

16

04050-13030

PIN,COTTER

17

20S-43-11230

COVER

18

203-43-41660

SPACER

19

09340-10130

SPRING

20

203-43-41541

COVER

21

01010-50820

BOLT

22

01602-20825

WASHER,SPRING

Выбрано товаров: 26