Запчасти Komatsu PC60U-5 КРЕПЛЕНИЕ РАДИАТОРА И ТРУБЫ КОМПОНЕНТЫ ДВИГАТЕЛЯ И ЭЛЕКТРИКА

Схема запчастей Komatsu PC60U-5 - КРЕПЛЕНИЕ РАДИАТОРА И ТРУБЫ КОМПОНЕНТЫ ДВИГАТЕЛЯ И ЭЛЕКТРИКА
FIT
1:1
100%

Артикул

Название

Примечание

Количество

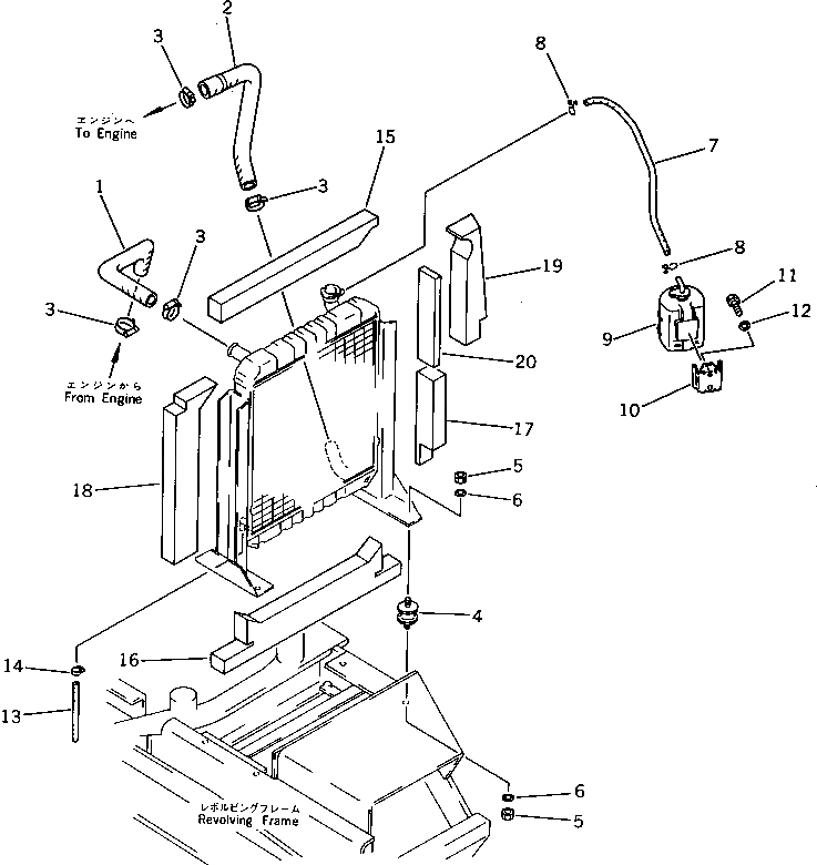
1

201-03-51130

HOSE

2

201-03-51141

HOSE

3

07281-00489

CLAMP

4

20S-03-11330

CUSHION

5

01580-11008

NUT

6

01643-31032

WASHER

7

21K-03-12660

HOSE

8

206-03-43340

CLIP

9

362-03-14110

TANK

9

362-03-31160

CAP

10

362-03-14120

BRACKET

11

01010-50616

BOLT

12

01643-30623

WASHER

13

203-03-41410

HOSE

14

07280-01010

CLAMP

15

201-03-51220

SHEET

16

201-03-51250

SHEET

17

201-03-51260

SHEET

18

201-03-51270

SHEET

19

201-03-51280

SHEET

20

201-03-51290

SHEET

Выбрано товаров: 21