Запчасти Komatsu PC60U-5 MACHINERY ОБСТАНОВКА (/) (PCUS) ОСНОВНАЯ РАМА¤ ЧАСТИ КОРПУСА И КАБИНА

Схема запчастей Komatsu PC60U-5 - MACHINERY ОБСТАНОВКА (/) (PCUS) ОСНОВНАЯ РАМА¤ ЧАСТИ КОРПУСА И КАБИНА
FIT
1:1
100%

Артикул

Название

Примечание

Количество

|$0

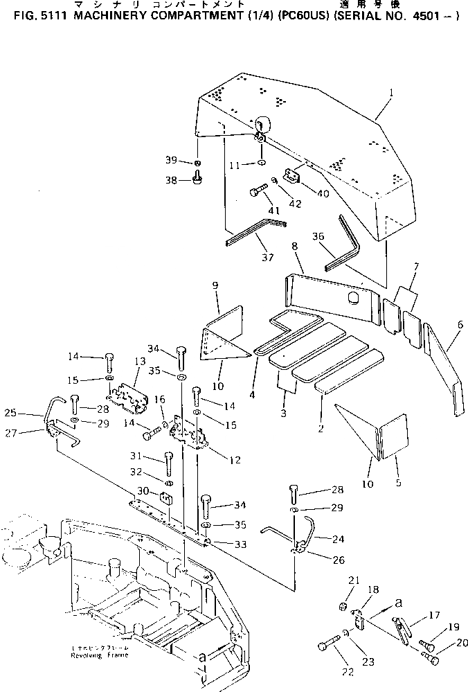
20X-54-00300

MACHINE CAB ASS'Y

|$1

20X-54-26820

HOOD ASS'Y

1

HOOD

2

20X-54-26630

SHEET

3

20X-54-26640

SHEET

4

20X-54-26650

SHEET

5

20X-54-26660

SHEET

6

20X-54-26670

SHEET

7

20X-54-26680

SHEET

8

20X-54-26690

SHEET

9

20X-54-26710

SHEET

10

20X-54-26730

SHEET

11

04431-30000

PLATE

12

20X-54-21260

HINGE,L.H.

13

20X-54-21270

HINGE,R.H.

14

01010-51025

BOLT

15

144-854-1890

WASHER

16

01643-31032

WASHER

17

20X-54-21221

STAY

18

20X-54-21210

BRACKET

19

20R-54-21450

BOLT

20

20R-54-21440

BOLT

21

01580-11008

NUT

22

01010-51030

BOLT

23

01643-31032

WASHER

24

20X-54-21140

BAR

25

20X-54-21150

BAR

26

20X-54-21161

BRACKET,L.H.

27

20X-54-21171

BRACKET,R.H.

28

01010-51025

BOLT

29

01643-31032

WASHER

30

20X-54-21182

HOLDER

31

01010-51065

BOLT

32

01643-31032

WASHER

33

20X-54-21131

BRACKET

34

01010-51240

BOLT

35

01643-31232

WASHER

36

20X-54-21240

TRIM,L.H.

37

20X-54-21250

TRIM,R.H.

38

201-54-21360

CUSHION

39

01580-10504

NUT

40

21K-54-26320

BRACKET

41

01010-51025

BOLT

42

01643-31032

WASHER

Выбрано товаров: 44