Запчасти Komatsu PC60U-5 MACHINERY ОБСТАНОВКА (/) (PCUS) ОСНОВНАЯ РАМА¤ ЧАСТИ КОРПУСА И КАБИНА

Схема запчастей Komatsu PC60U-5 - MACHINERY ОБСТАНОВКА (/) (PCUS) ОСНОВНАЯ РАМА¤ ЧАСТИ КОРПУСА И КАБИНА
FIT
1:1
100%

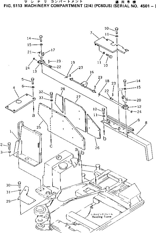
Артикул

Название

Примечание

Количество

1

201-54-58210

COVER

2

01010-51016

BOLT

3

01643-31032

WASHER

4

20X-54-21521

COVER

4

20X-54-21520

COVER

5

01010-51020

BOLT

6

01643-31032

WASHER

7

20X-54-21380

COVER

8

20X-54-21351

COVER

9

20X-54-21360

TRIM

10

01010-51020

BOLT

11

01643-31032

WASHER

12

20X-54-21411

BRACKET,L.H.

13

20X-54-21420

BRACKET,R.H.

14

01010-51020

BOLT

15

01643-31032

WASHER

16

20X-54-21431

LEVER

17

21K-54-26340

LEVER

18

20X-54-21460

SPRING

19

20X-54-21440

SPRING

20

20X-54-21470

SPRING

21

21K-54-26360

SPRING

22

04205-11038

PIN

23

04050-13020

PIN,COTTER

24

01641-21016

WASHER

|$25

20X-54-26320

COVER ASS'Y

25

20X-54-21341

COVER

26

20X-54-26310

SHEET

27

20X-54-26280

SHEET

28

20X-54-26290

SHEET

29

201-54-58220

COVER

30

01010-51020

BOLT

31

01643-31032

WASHER

32

01010-51020

BOLT

33

01643-31032

WASHER

Выбрано товаров: 0