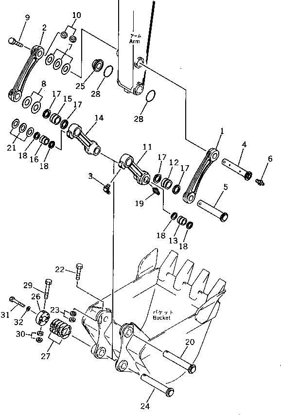
Запчасти Komatsu PC60U-5 СОЕДИНИТЕЛЬН. ЗВЕНО РАБОЧЕЕ ОБОРУДОВАНИЕ

Схема запчастей Komatsu PC60U-5 - СОЕДИНИТЕЛЬН. ЗВЕНО РАБОЧЕЕ ОБОРУДОВАНИЕ
FIT
1:1
100%

Артикул

Название

Примечание

Количество

1

20X-70-24120

LINK,L.H.

2

20X-70-24110

LINK,R.H.

3

07020-00900

FITTING,GREASE

4

20X-70-24260

SHAFT

5

20X-70-24220

SHAFT

6

07020-00000

FITTING,GREASE

7

201-70-22150

SPACER¤ 1.0MM

|7

135-70-13251

SPACER¤ 1.6MM

|7

135-70-13290

SPACER¤ 3.2MM

8

203-70-24150

SPACER¤ 1.0MM

|8

203-70-24160

SPACER¤ 2.0MM

9

01011-51620

BOLT

10

01580-11613

NUT

|11

20X-70-00220

LINK ASS'Y,L.H.

11

LINK

12

20X-70-24150

BUSHING

13

07144-10505

BUSHING

|14

20X-70-00230

LINK ASS'Y,R.H.

14

LINK

15

20X-70-24150

BUSHING

16

07144-10505

BUSHING

17

07145-00060

SEAL,DUST

18

07145-00050

SEAL,DUST

19

07020-00000

FITTING,GREASE

20

20X-70-24211

SHAFT

21

201-70-22150

SPACER¤ 1.0MM

|21

135-70-13251

SPACER¤ 1.6MM

|21

135-70-13290

SPACER¤ 3.2MM

22

01011-51630

BOLT

23

01580-11613

NUT

24

20X-70-24211

SHAFT

25

20X-70-24231

SPACER

26

20X-70-24241

PLATE

27

20X-70-24250

PLATE¤ 0.5MM

28

175-30-16210

O-RING

29

01011-51650

BOLT

30

01580-11613

NUT

31

01010-51260

BOLT

32

01643-31232

WASHER

Выбрано товаров: 39