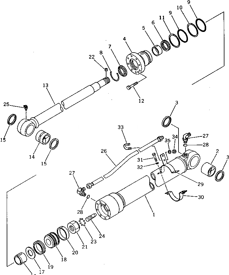
Запчасти Komatsu PC60U-5 ЦИЛИНДР РУКОЯТИ РАБОЧЕЕ ОБОРУДОВАНИЕ

Схема запчастей Komatsu PC60U-5 - ЦИЛИНДР РУКОЯТИ РАБОЧЕЕ ОБОРУДОВАНИЕ
FIT
1:1
100%

Артикул

Название

Примечание

Количество

|1

201-63-02050

CYLINDER ASS'Y

1

201-63-33540

CYLINDER

2

707-76-60180

BUSHING

3

07145-00060

SEAL,DUST

4

707-28-90270

HEAD,CYLINDER

5

07177-06030

BUSHING

6

707-51-60211

PACKING,ROD

7

141-63-93270

SEAL,DUST

8

07179-00082

RING,SNAP

9

07000-12090

O-RING

10

07001-02090

RING,BACK-UP

11

707-35-90950

RING,BACK-UP

12

01010-81450

BOLT

13

201-63-33520

ROD,PISTON

14

707-76-60080

BUSHING

15

07145-00060

SEAL,DUST

16

707-71-50670

PLUNGER

17

707-41-10060

PLATE

18

707-36-90371

PISTON

19

707-44-90080

RING,PISTON

20

07155-00925

RING,WEAR

21

07165-14244

NUT

22

20X-63-66490

SCREW

23

04260-00635

BALL

24

707-71-50190

PLUNGER

25

07020-00675

FITTING,GREASE

26

201-63-33570

TUBE

27

07235-10422

ELBOW

28

07002-12034

O-RING

29

707-88-99880

BAND

30

707-88-99960

BAND

31

01010-51035

BOLT

32

01602-21030

WASHER,SPRING

33

07283-22236

CLIP

34

01599-01011

NUT

35

01643-31032

WASHER

Выбрано товаров: 36