Запчасти Komatsu PC60U-5 КОВШ¤ .M ШИР. MM¤ ГОРИЗОНТАЛЬН. ПАЛЕЦ РАБОЧЕЕ ОБОРУДОВАНИЕ

Схема запчастей Komatsu PC60U-5 - КОВШ¤ .M ШИР. MM¤ ГОРИЗОНТАЛЬН. ПАЛЕЦ РАБОЧЕЕ ОБОРУДОВАНИЕ
FIT
1:1
100%

Артикул

Название

Примечание

Количество

|1

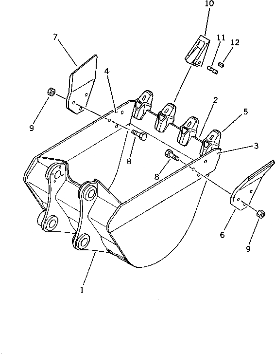
201-70-00460

BUCKET ASS'Y

1

201-70-53510

BUCKET

2

20X-926-1620

LIP (WELDED)

3

201-70-53140

PLATE,L.H. (WELDED)

4

201-70-53130

PLATE,R.H. (WELDED)

5

20X-70-14151

ADAPTER (WELDED)

6

20X-933-1110

SIDE CUTTER,L.H.

7

20X-933-1120

SIDE CUTTER,R.H.

8

01802-02268

BOLT

9

01803-02228

NUT

10

20X-70-14160

TOOTH

|11

20X-70-00100

PIN ASS'Y

11

PIN

12

SPRING

|1

201-70-00460

BUCKET ASS'Y

1

201-70-53510

BUCKET

2

20X-926-1620

LIP (WELDED)

3

201-70-53140

PLATE,L.H. (WELDED)

4

201-70-53130

PLATE,R.H. (WELDED)

5

20X-70-14151

ADAPTER (WELDED)

6

20X-933-1110

SIDE CUTTER,L.H.

7

20X-933-1120

SIDE CUTTER,R.H.

8

01802-02268

BOLT

9

01803-02228

NUT

10

20X-70-14160

TOOTH

|11

20X-70-00100

PIN ASS'Y

11

PIN

12

SPRING

Выбрано товаров: 28