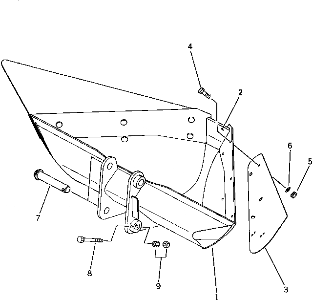
Запчасти Komatsu PC60U-5 TRAPEZOIDAL КОВШ РАБОЧЕЕ ОБОРУДОВАНИЕ

Схема запчастей Komatsu PC60U-5 - TRAPEZOIDAL КОВШ РАБОЧЕЕ ОБОРУДОВАНИЕ
FIT
1:1
100%

Артикул

Название

Примечание

Количество

|1

201-929-0021

BUCKET ASS'Y

1

201-929-2111

BUCKET,TRAPEZOIDAL

2

201-929-2120

LIP (WELDED)

3

201-929-2130

PLATE

4

01010-51650

BOLT

5

01580-11613

NUT

6

01643-31645

WASHER

7

20X-70-24270

SHAFT

8

01011-51630

BOLT

9

01580-11613

NUT

Выбрано товаров: 10