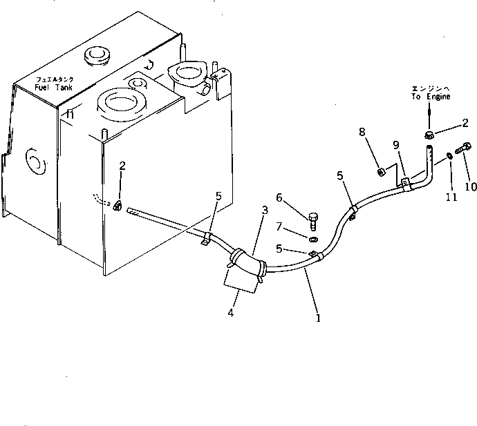
Запчасти Komatsu PC60U-5 ТОПЛИВОПРОВОД. КОМПОНЕНТЫ ДВИГАТЕЛЯ И ЭЛЕКТРИКА

Схема запчастей Komatsu PC60U-5 - ТОПЛИВОПРОВОД. КОМПОНЕНТЫ ДВИГАТЕЛЯ И ЭЛЕКТРИКА
FIT
1:1
100%

Артикул

Название

Примечание

Количество

1

07288-01018

HOSE

2

07281-00197

CLAMP

3

203-62-41150

COVER

4

08034-00414

BAND

5

08036-01814

CLIP

6

01010-51016

BOLT

7

01643-31032

WASHER

8

6131-22-3760

BOSS

9

08036-02514

CLIP

10

01010-51025

BOLT

11

01643-31032

WASHER

Выбрано товаров: 0