Запчасти Komatsu PC650-1 ПОВОРОТН. КРУГ ПОВОРОТН. И СИСТЕМА УПРАВЛЕНИЯS

Схема запчастей Komatsu PC650-1 - ПОВОРОТН. КРУГ ПОВОРОТН. И СИСТЕМА УПРАВЛЕНИЯS
FIT
1:1
100%

Артикул

Название

Примечание

Количество

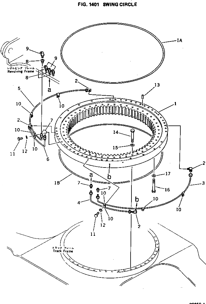
1

209-25-11101

CIRCLE,SWING

1A

209-25-11130

SEAL

1B

209-25-11160

SEAL

2

20F-36-13230

ELBOW

3

209-25-31110

TUBE,L.H.

4

209-25-31130

TUBE,L.H.

5

209-25-31120

TUBE,R.H.

6

209-25-31140

TUBE,R.H.

7

07213-50813

CONNECTOR

8

07326-10201

ADAPTER

9

07020-00900

FITTING,GREASE

10

208-01-14120

CLIP

11

01010-51220

BOLT

12

01643-31232

WASHER

13

170-27-12250

PIN,DOWEL

14

209-09-11211

BOLT

15

01643-33080

WASHER

16

209-09-11220

BOLT

17

01643-33080

WASHER

Выбрано товаров: 19