Запчасти Komatsu PC650-1 МЕХАНИЗМ ПОВОРОТА (/) ПОВОРОТН. И СИСТЕМА УПРАВЛЕНИЯS

Схема запчастей Komatsu PC650-1 - МЕХАНИЗМ ПОВОРОТА (/) ПОВОРОТН. И СИСТЕМА УПРАВЛЕНИЯS
FIT
1:1
100%

Артикул

Название

Примечание

Количество

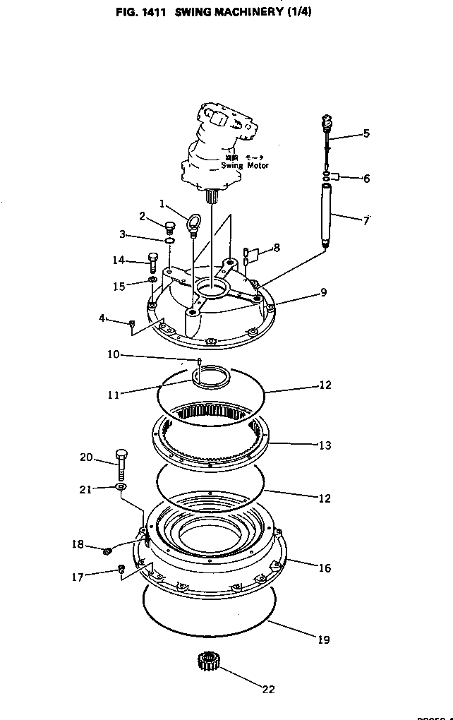
1

04530-13045

BOLT

2

07040-11812

PLUG

3

07002-01823

O-RING

4

07049-01620

PLUG

5

209-26-11130

GAUGE

6

07000-03022

O-RING

7

21T-26-11481

FILLER

8

113-33-22180

PIN,DOWEL

9

209-26-11120

CASE

10

04020-00616

PIN,DOWEL

11

21T-26-11450

WASHER,THRUST

12

07000-05480

O-RING

13

21T-26-11370

GEAR

14

01010-51675

BOLT

15

01643-31645

WASHER

16

21T-26-11120

CASE

17

07049-02025

PLUG

18

07042-10211

PLUG

19

281-09-11110

O-RING

20

01011-52010

BOLT

21

01643-32060

WASHER

22

21T-26-11351

GEAR

Выбрано товаров: 22