Запчасти Komatsu PC650-1 МОТОР ПОВОРОТА ТРУБЫ (/)(№-) ПОВОРОТН. И СИСТЕМА УПРАВЛЕНИЯS

Схема запчастей Komatsu PC650-1 - МОТОР ПОВОРОТА ТРУБЫ (/)(№-) ПОВОРОТН. И СИСТЕМА УПРАВЛЕНИЯS
FIT
1:1
100%

Артикул

Название

Примечание

Количество

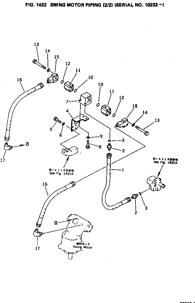
1

07109-20608

HOSE

2

07230-10628

UNION

3

07002-02434

O-RING

4

209-62-37990

BRACKET

5

01010-51025

BOLT

6

01643-31032

WASHER

7

209-62-37960

BLOCK

8

01010-51025

BOLT

9

01643-31032

WASHER

10

07000-13032

O-RING

11

205-60-51200

VALVE ASS'Y

12

07000-13035

O-RING

13

01011-51015

BOLT

14

01643-31032

WASHER

15

209-62-37980

ELBOW

16

209-62-38250

HOSE

16

07121-00603

HOSE

17

209-62-38240

ELBOW

17

07235-10628

ELBOW

Выбрано товаров: 19