Запчасти Komatsu PC650-1 P.O.C. КЛАПАН ТРУБЫ (/)(№-) ПОВОРОТН. И СИСТЕМА УПРАВЛЕНИЯS

Схема запчастей Komatsu PC650-1 - P.O.C. КЛАПАН ТРУБЫ (/)(№-) ПОВОРОТН. И СИСТЕМА УПРАВЛЕНИЯS
FIT
1:1
100%

Артикул

Название

Примечание

Количество

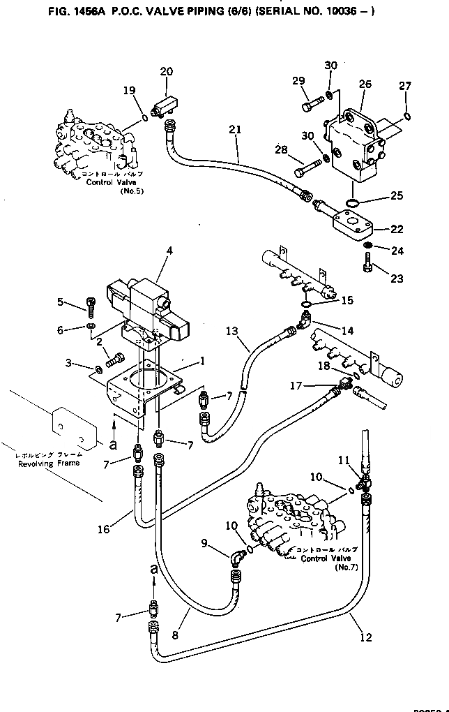
1

209-62-27640

BRACKET

2

01010-51225

BOLT

3

01643-31232

WASHER

4

209-60-12830

VALVE ASS'Y

5

01252-40530

BOLT

6

01602-20513

WASHER,SPRING

7

21T-62-15250

NIPPLE

8

07102-20205

HOSE

9

07235-10210

ELBOW

10

07002-01423

O-RING

11

208-26-11611

TEE

12

07102-20210

HOSE

13

07102-20210

HOSE

14

07235-10210

ELBOW

15

07002-01423

O-RING

16

07102-20212

HOSE

17

208-62-17550

TEE

18

07002-01423

O-RING

19

07002-01423

O-RING

20

209-62-22520

ELBOW

21

07102-20206

HOSE

22

209-62-27770

TUBE

23

01010-50835

BOLT

24

01643-30823

WASHER

25

07000-02016

O-RING

26

706-75-77901

SHUTTLE VALVE ASS'Y

26

706-75-77900

SHUTTLE VALVE ASS'Y

27

07000-02010

O-RING

28

01010-50880

BOLT

29

01010-50855

BOLT

30

01643-30823

WASHER

Выбрано товаров: 31