Запчасти Komatsu PC650-1 P.N.C. ТРУБЫ (/) ПОВОРОТН. И СИСТЕМА УПРАВЛЕНИЯS

Схема запчастей Komatsu PC650-1 - P.N.C. ТРУБЫ (/) ПОВОРОТН. И СИСТЕМА УПРАВЛЕНИЯS
FIT
1:1
100%

Артикул

Название

Примечание

Количество

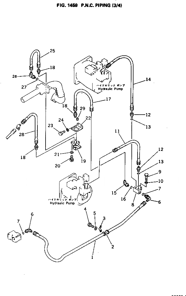
1

07102-20620

HOSE

1

07102-20622

HOSE

2

209-62-13920

CUSHION

3

21T-62-29320

CLIP

3

07282-04311

CLAMP

4

01010-51020

BOLT

5

01643-51032

WASHER

6

07235-10628

ELBOW

7

07002-02434

O-RING

8

209-62-27570

BLOCK

9

01010-51225

BOLT

10

01643-31232

WASHER

11

07102-20308

HOSE

12

07230-10315

UNION

13

07002-02034

O-RING

14

07102-20313

HOSE

15

07235-10210

ELBOW

16

07002-01423

O-RING

17

07102-20204

HOSE

18

21T-62-15250

NIPPLE

19

21T-60-12280

SOLENOID VALVE

20

01252-40530

BOLT

21

01601-20513

WASHER,SPRING

22

209-62-27591

BRACKET

23

01010-51225

BOLT

24

01643-31232

WASHER

25

07102-20205

HOSE

26

07235-10210

ELBOW

27

07002-01423

O-RING

28

07102-20207

HOSE

29

07043-00312

PLUG

Выбрано товаров: 31