Запчасти Komatsu PC650-1 P.N.C. ТРУБЫ (/) ПОВОРОТН. И СИСТЕМА УПРАВЛЕНИЯS

Схема запчастей Komatsu PC650-1 - P.N.C. ТРУБЫ (/) ПОВОРОТН. И СИСТЕМА УПРАВЛЕНИЯS
FIT
1:1
100%

Артикул

Название

Примечание

Количество

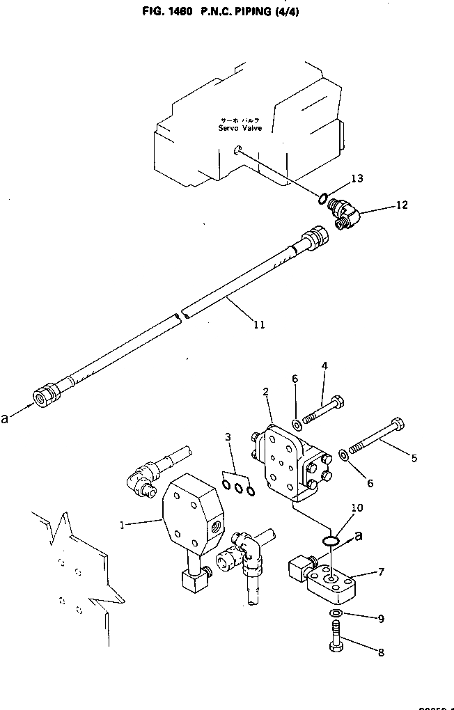
1

209-62-27760

TUBE

2

706-75-77400

SHUTTLE VALVE ASS'Y

3

07000-02010

O-RING

4

01010-50855

BOLT

5

01010-50880

BOLT

6

01643-30823

WASHER

7

208-62-18410

TUBE

8

01010-50835

BOLT

9

01643-30823

WASHER

10

07000-02016

O-RING

11

07104-20222

HOSE

12

07235-10210

ELBOW

13

07002-01423

O-RING

Выбрано товаров: 13