Запчасти Komatsu PC650-1 MACHINERY ОБСТАНОВКА (/7) (SD7)(№-) ОСНОВНАЯ РАМА И КАБИНА

Схема запчастей Komatsu PC650-1 - MACHINERY ОБСТАНОВКА (/7) (SD7)(№-) ОСНОВНАЯ РАМА И КАБИНА
FIT
1:1
100%

Артикул

Название

Примечание

Количество

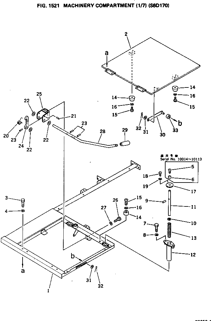
1

209-54-12252

FRAME

2

209-54-12262

COVER

3

01010-51230

BOLT

4

01643-31232

WASHER

5

01220-40306

SCREW

6

21T-54-14470

CUSHION

7

01010-50820

BOLT

8

01602-20825

WASHER,SPRING

9

04025-00420

PIN

10

21T-54-14440

WASHER

11

21T-54-14460

BAR

12

21T-54-14420

PIPE

13

21T-54-14430

SPRING

14

203-54-11280

BOSS

15

01220-40620

SCREW

16

01602-20619

WASHER,SPRING

17

21T-54-14450

PLATE

18

01220-40308

SCREW

19

01601-20307

WASHER,SPRING

20

113-54-21150

SPRING

21

04025-00416

PIN

22

01641-21423

WASHER

23

04025-00424

PIN

24

209-54-31180

LATCH

25

21T-54-14380

BRACKET

26

01010-50820

BOLT

27

01602-20825

WASHER,SPRING

28

209-54-12271

ROD

29

09304-01240

KNOB

30

209-54-31170

LINK

31

01641-21016

WASHER

32

04050-13018

PIN,COTTER

33

202-970-1220

WASHER

Выбрано товаров: 33