Запчасти Komatsu PC650-1 КАБИНА (/) ОСНОВНАЯ РАМА И КАБИНА

Схема запчастей Komatsu PC650-1 - КАБИНА (/) ОСНОВНАЯ РАМА И КАБИНА
FIT
1:1
100%

Артикул

Название

Примечание

Количество

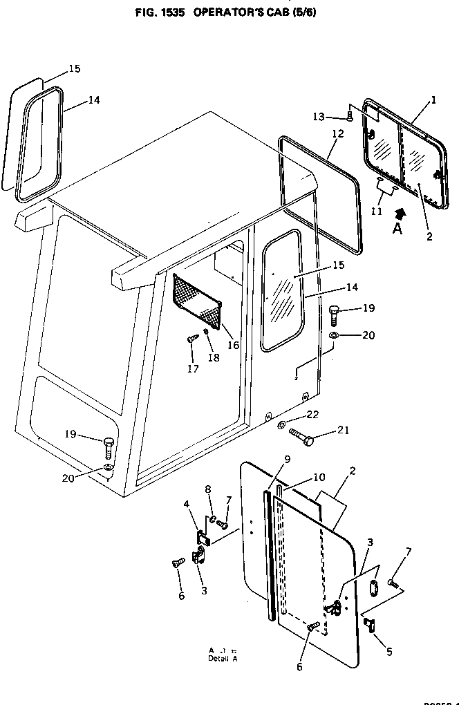
|$0

205-54-66400

SASH ASS'Y

1

205-54-66410

SASH

2

205-54-66840

GLASS

3

205-54-66420

LOCK ASS'Y

4

205-54-53180

CATCH,LOCK

5

205-54-53190

CATCH,LOCK

6

01224-40408

SCREW

7

01220-40408

SCREW

8

01601-20410

WASHER,SPRING

9

205-54-67910

SASH

10

205-54-67920

STRIP,WEATHER

11

205-54-53280

PROOF,DUST

12

205-54-66430

SEAL

13

01224-40408

SCREW

14

209-54-16120

SEAL

15

209-54-16110

GLASS

16

205-54-66530

POCKET

17

01370-00412

SCREW

18

01611-04045

WASHER

19

01010-51270

BOLT

20

01643-31232

WASHER

21

01010-51280

BOLT

22

01643-31232

WASHER

Выбрано товаров: 23