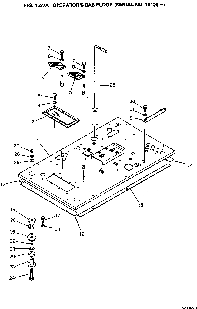
Запчасти Komatsu PC650-1 КАБИНА ПОЛ(№-) ОСНОВНАЯ РАМА И КАБИНА

Схема запчастей Komatsu PC650-1 - КАБИНА ПОЛ(№-) ОСНОВНАЯ РАМА И КАБИНА
FIT
1:1
100%

Артикул

Название

Примечание

Количество

1

209-54-11813

FLOOR

2

209-54-11791

SASH

3

01010-50635

BOLT

4

01643-30623

WASHER

5

209-43-13380

FOOT REST

6

209-43-11120

FOOT REST

7

01010-51025

BOLT

8

01643-31032

WASHER

9

209-54-32110

BRACKET

10

01010-51225

BOLT

11

01643-31232

WASHER

12

209-54-32120

SHEET

13

209-54-32150

SHEET

14

209-54-32130

SHEET

15

209-54-32140

SHEET

16

207-54-15550

FLANGE

17

01010-51240

BOLT

18

01643-31232

WASHER

19

205-54-51950

PLATE

20

203-54-21110

CUSHION

21

207-54-15570

SPACER

22

07000-02021

O-RING

23

209-54-15170

COLLAR

24

207-54-15540

BOLT

25

01643-32060

WASHER

26

01643-31645

WASHER

27

01580-11613

NUT

28

209-54-11841

PIN

Выбрано товаров: 28