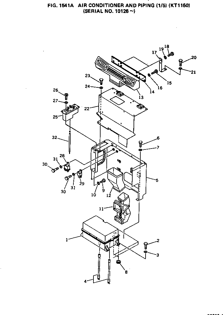
Запчасти Komatsu PC650-1 КОНДИЦ. ВОЗДУХА И ТРУБЫ (/) (KT)(№-) ОСНОВНАЯ РАМА И КАБИНА

Схема запчастей Komatsu PC650-1 - КОНДИЦ. ВОЗДУХА И ТРУБЫ (/) (KT)(№-) ОСНОВНАЯ РАМА И КАБИНА
FIT
1:1
100%

Артикул

Название

Примечание

Количество

1

205-979-6110

COOLING UNIT

2

01010-51220

BOLT

3

01643-31232

WASHER

4

209-979-1250

HOSE

5

209-979-1110

COVER

6

01010-51230

BOLT

7

01643-31232

WASHER

8

08037-03614

GROMMET

9

01010-51020

BOLT

10

01643-31032

WASHER

11

205-979-6120

DUCT

12

205-979-6140

DUCT

13

205-979-6130

DUCT

14

205-979-6171

BRACKET

15

01010-50812

BOLT

16

01643-30823

WASHER

17

209-979-1130

BRACKET

18

01010-50816

BOLT

19

01643-30823

WASHER

20

01010-51230

BOLT

21

01643-31232

WASHER

22

209-979-1120

COVER

23

01010-51225

BOLT

24

01643-31232

WASHER

25

205-979-6160

CONTROL ASS'Y

26

21T-06-13620

BOLT

27

21T-06-13560

WASHER

28

205-979-6460

RELAY ASS'Y

29

198-911-5590

RELAY ASS'Y

30

01010-50812

BOLT

31

01643-30823

WASHER

32

205-979-6280

CABLE

Выбрано товаров: 32