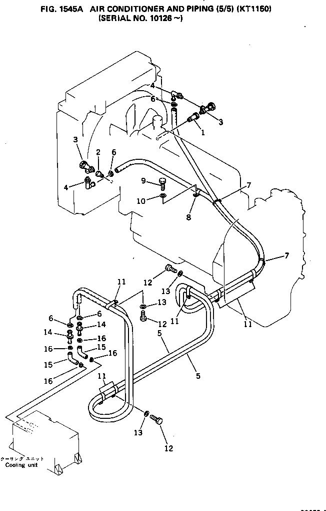
Запчасти Komatsu PC650-1 КОНДИЦ. ВОЗДУХА И ТРУБЫ (/) (KT)(№-) ОСНОВНАЯ РАМА И КАБИНА

Схема запчастей Komatsu PC650-1 - КОНДИЦ. ВОЗДУХА И ТРУБЫ (/) (KT)(№-) ОСНОВНАЯ РАМА И КАБИНА
FIT
1:1
100%

Артикул

Название

Примечание

Количество

1

209-988-1280

NIPPLE

2

196-911-4120

NIPPLE

3

195-911-5591

VALVE

4

175-911-4340

JOINT

5

09483-16870

HOSE

6

07281-00419

CLAMP

7

08034-00536

BAND

8

113-899-7950

CLIP

9

01010-51220

BOLT

10

01643-31232

WASHER

11

195-911-4350

CLIP

12

01010-51225

BOLT

13

01643-31232

WASHER

14

209-979-1260

JOINT

15

09483-30450

HOSE

16

07281-00259

CLAMP

Выбрано товаров: 16