Запчасти Komatsu PC650-1 КОНДИЦ. ВОЗДУХА И ТРУБЫ (/) (SD7)(№-) ОСНОВНАЯ РАМА И КАБИНА

Схема запчастей Komatsu PC650-1 - КОНДИЦ. ВОЗДУХА И ТРУБЫ (/) (SD7)(№-) ОСНОВНАЯ РАМА И КАБИНА
FIT
1:1
100%

Артикул

Название

Примечание

Количество

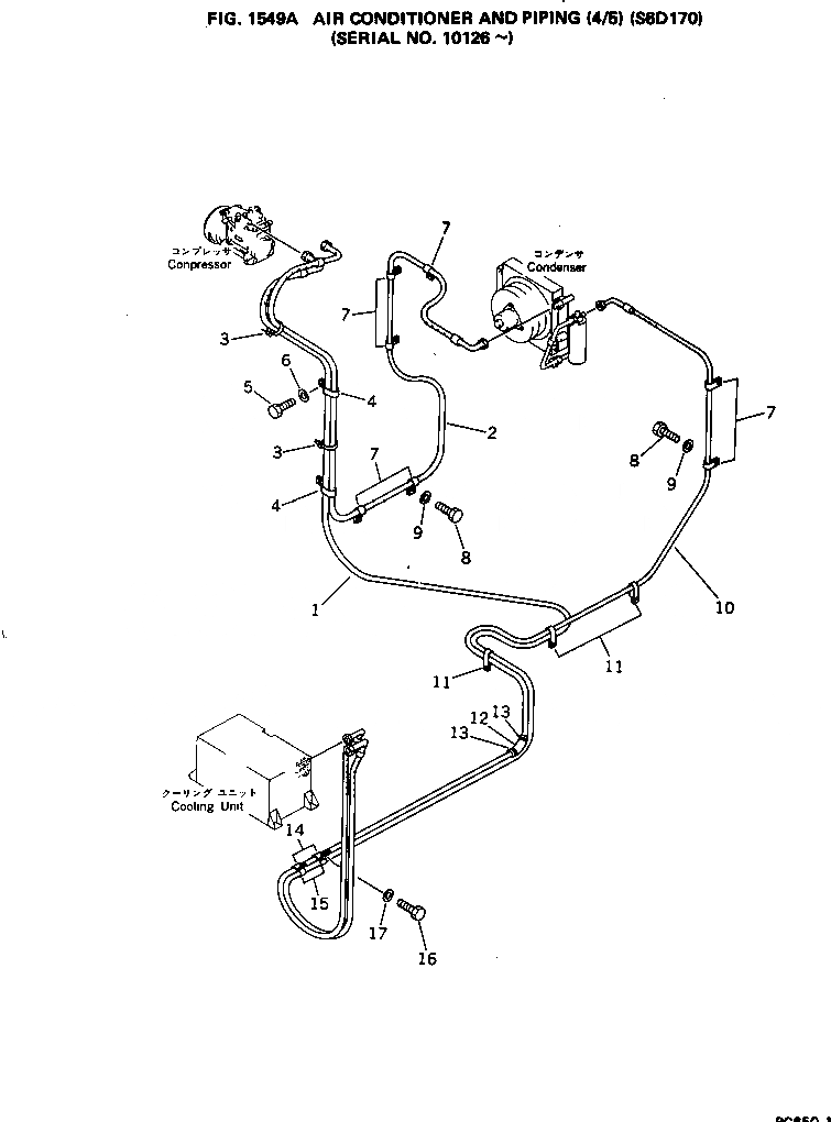
1

209-979-1280

HOSE

2

209-979-1210

HOSE

3

08034-00536

BAND

4

176-911-4170

CLIP

5

01010-51220

BOLT

6

01643-31232

WASHER

7

140-06-18440

CLIP

8

01010-51220

BOLT

9

01643-31232

WASHER

10

209-979-1290

HOSE

11

176-911-4170

CLIP

12

205-62-53780

COVER

13

08034-00536

BAND

14

140-06-18440

CLIP

15

08036-22514

CLIP

16

01010-51225

BOLT

17

01643-31232

WASHER

Выбрано товаров: 17