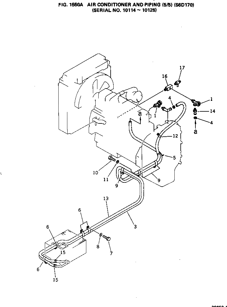
Запчасти Komatsu PC650-1 КОНДИЦ. ВОЗДУХА И ТРУБЫ (/) (SD7)(№-) ОСНОВНАЯ РАМА И КАБИНА

Схема запчастей Komatsu PC650-1 - КОНДИЦ. ВОЗДУХА И ТРУБЫ (/) (SD7)(№-) ОСНОВНАЯ РАМА И КАБИНА
FIT
1:1
100%

Артикул

Название

Примечание

Количество

1

195-911-5591

VALVE

2

175-911-4340

JOINT

3

09483-16870

HOSE

4

07281-00419

CLAMP,HOSE

5

08034-00536

BAND

6

195-911-4350

CLIP

7

01010-51220

BOLT

8

01643-31232

WASHER

9

195-911-4350

CLIP

10

01010-51220

BOLT

11

01643-31232

WASHER

12

113-899-7950

CLIP

13

09483-16800

HOSE

14

21T-988-1630

JOINT

15

07281-00419

CLAMP

16

209-979-1190

TEE

17

6127-61-8411

VALVE ASS'Y

Выбрано товаров: 17