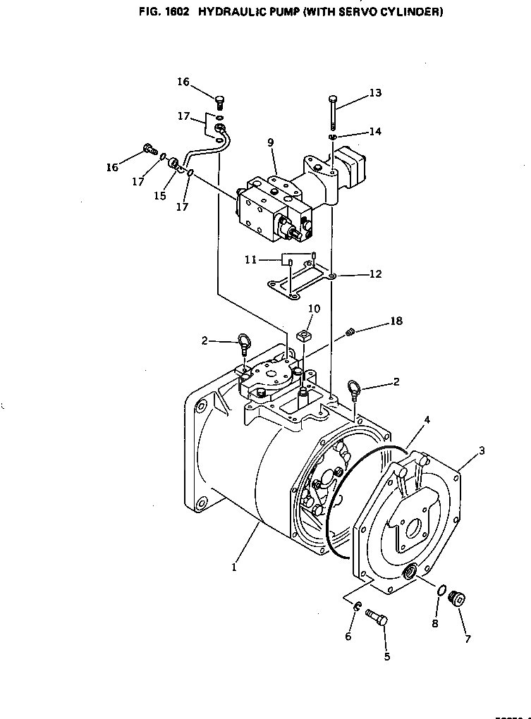
Запчасти Komatsu PC650-1 ГИДР. НАСОС. (С SERVO ЦИЛИНДР) УПРАВЛ-Е РАБОЧИМ ОБОРУДОВАНИЕМ

Схема запчастей Komatsu PC650-1 - ГИДР. НАСОС. (С SERVO ЦИЛИНДР) УПРАВЛ-Е РАБОЧИМ ОБОРУДОВАНИЕМ
FIT
1:1
100%

Артикул

Название

Примечание

Количество

|$0

706-47-20102

PUMP ASS'Y

|$1

706-47-20101

PUMP ASS'Y

1

706-47-45000

PUMP SUB ASS'Y

1

706-47-42001

PUMP SUB ASS'Y

2

04530-11018

BOLT,EYE

3

706-47-40330

COVER

4

07000-05335

O-RING

5

01010-51240

BOLT

6

01602-21236

WASHER,SPRING

7

07040-12414

PLUG

8

07002-02434

O-RING

9

706-46-58101

SERVO ASS'Y

9

706-46-58100

SERVO ASS'Y

10

706-46-40190

SLIDER

11

04020-00616

PIN

12

706-46-40910

GASKET

13

01011-51010

BOLT

14

01602-21030

WASHER,SPRING

15

706-47-40951

TUBE

16

6631-51-9580

BOLT,EYE

17

07000-12012

O-RING

18

706-46-40920

PLUG

Выбрано товаров: 0