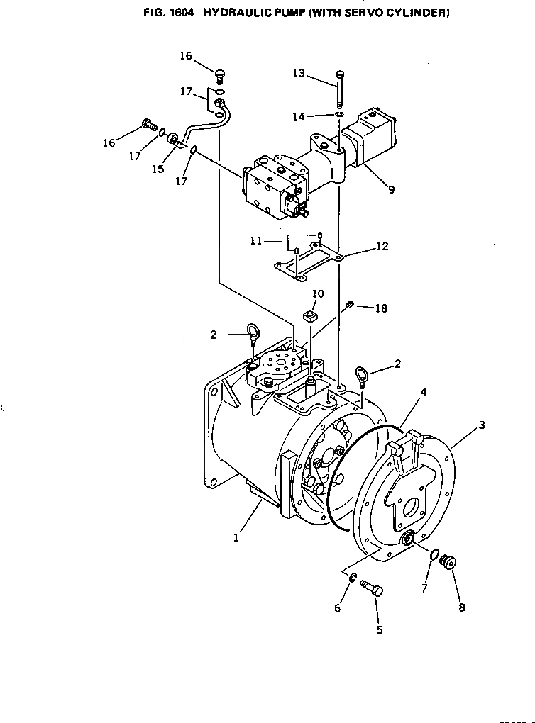
Запчасти Komatsu PC650-1 ГИДР. НАСОС. (С SERVO ЦИЛИНДР) УПРАВЛ-Е РАБОЧИМ ОБОРУДОВАНИЕМ

Схема запчастей Komatsu PC650-1 - ГИДР. НАСОС. (С SERVO ЦИЛИНДР) УПРАВЛ-Е РАБОЧИМ ОБОРУДОВАНИЕМ
FIT
1:1
100%

Артикул

Название

Примечание

Количество

|$0

706-46-21402

PUMP ASS'Y

|$1

706-46-21401

PUMP ASS'Y

1

706-46-42002

PUMP SUB ASS'Y

1

706-46-42001

PUMP SUB ASS'Y

2

04530-11018

BOLT,EYE

3

706-46-40260

COVER

4

07000-05280

O-RING

5

01010-51035

BOLT

6

01602-21030

WASHER,SPRING

7

07002-02434

O-RING

8

07040-12414

PLUG

9

706-46-57301

SERVO CYLINDER A.

9

706-46-57300

SERVO CYLINDER A.

10

706-46-40910

GASKET

11

04020-00616

PIN

12

706-46-40910

GASKET

13

01011-51010

BOLT

14

01602-21030

WASHER,SPRING

15

706-46-53924

TUBE

16

6631-51-9580

BOLT,EYE

17

07000-12012

O-RING

18

706-46-40920

PLUG

Выбрано товаров: 22