Запчасти Komatsu PC650-1 ГИДР. БАК. УПРАВЛ-Е РАБОЧИМ ОБОРУДОВАНИЕМ

Схема запчастей Komatsu PC650-1 - ГИДР. БАК. УПРАВЛ-Е РАБОЧИМ ОБОРУДОВАНИЕМ
FIT
1:1
100%

Артикул

Название

Примечание

Количество

|$0

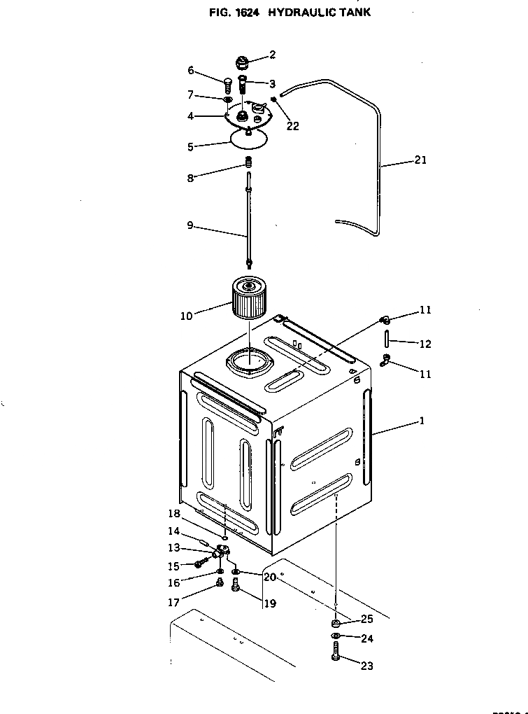
209-60-00022

HYDRAULIC TANK ASS'Y

|$1

209-60-00021

HYDRAULIC TANK ASS'Y

1

209-60-11112

TANK

1

209-60-11111

TANK

2

07051-01000

CAP

3

07056-10045

STRAINER

4

209-60-11121

COVER

5

07000-05230

O-RING

6

01010-51225

BOLT

7

01643-31232

WASHER

8

12R-60-11230

SPRING

9

209-60-11132

SUPPORT

9

209-60-11131

SUPPORT

10

209-60-51120

STRAINER

10

209-60-11150

STRAINER

11

203-60-31100

ELBOW ASS'Y

12

203-60-31160

TUBE

|$19

155-60-12500

VALVE ASS'Y

13

155-60-12510

BODY

14

04025-00532

PIN

15

155-60-12520

VALVE

16

07005-02416

GASKET

17

07040-12412

PLUG

18

07000-03025

O-RING

19

01010-51025

BOLT

20

01643-31032

WASHER

21

209-60-11141

TUBE

22

07281-10197

CLAMP

23

01010-52065

BOLT

24

01643-32060

WASHER

25

21T-01-11130

WASHER

Выбрано товаров: 31