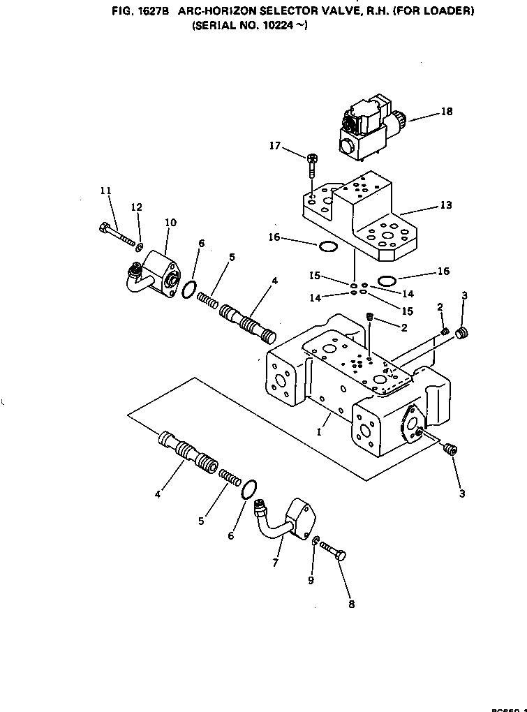
Запчасти Komatsu PC650-1 ARC-HORIZON КЛАПАН СЕЛЕКТОРА¤ ПРАВ. (ДЛЯ ПОГРУЗ.)(№-) УПРАВЛ-Е РАБОЧИМ ОБОРУДОВАНИЕМ

Схема запчастей Komatsu PC650-1 - ARC-HORIZON КЛАПАН СЕЛЕКТОРА¤ ПРАВ. (ДЛЯ ПОГРУЗ.)(№-) УПРАВЛ-Е РАБОЧИМ ОБОРУДОВАНИЕМ
FIT
1:1
100%

Артикул

Название

Примечание

Количество

|$0

209-60-12303

ARC-HORIZON SELECTOR,R.H.

1

209-60-12262

BODY

2

07043-50108

PLUG

3

07043-50415

PLUG

4

209-60-12281

SPOOL

5

700-90-51160

SPRING

6

07000-03035

O-RING

7

209-60-12451

TUBE

8

01010-51040

BOLT

9

01602-21030

WASHER,SPRING

10

209-60-12471

TUBE

11

01010-51070

BOLT

12

01602-21030

WASHER,SPRING

13

209-62-37820

BLOCK

14

07000-01008

O-RING

15

07000-02010

O-RING

16

07000-13032

O-RING

17

01252-41025

BOLT

18

209-60-12180

VALVE

Выбрано товаров: 19