Запчасти Komatsu PC650-1 КРЕПЛЕНИЕ РАДИАТОРА (KT) КОМПОНЕНТЫ ДВИГАТЕЛЯ И ЭЛЕКТРИКА

Схема запчастей Komatsu PC650-1 - КРЕПЛЕНИЕ РАДИАТОРА (KT) КОМПОНЕНТЫ ДВИГАТЕЛЯ И ЭЛЕКТРИКА
FIT
1:1
100%

Артикул

Название

Примечание

Количество

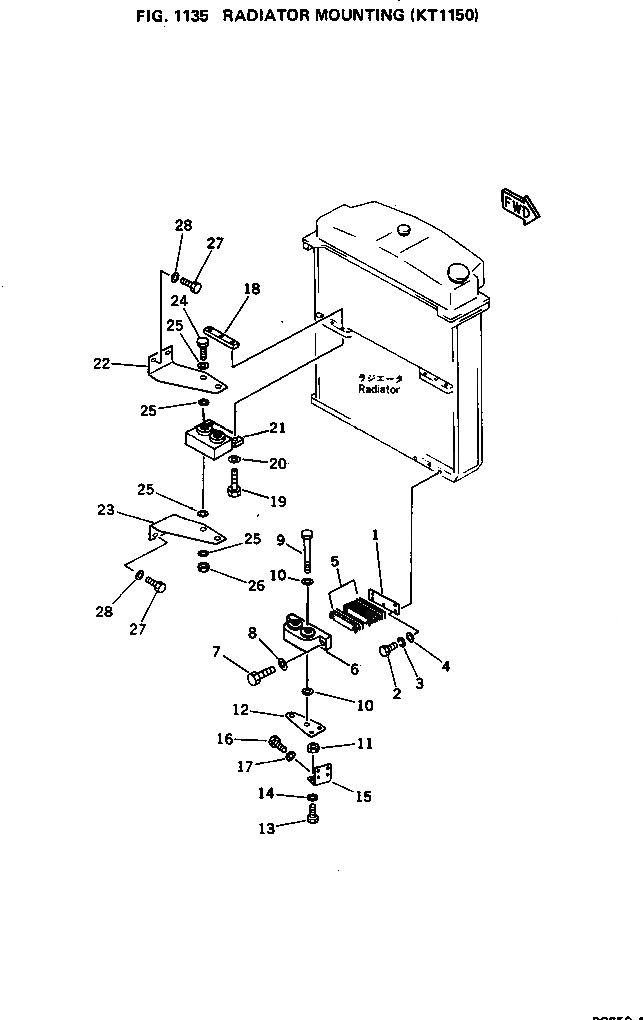
1

195-03-22190

SEAT

2

01010-51240

BOLT

3

01602-21236

WASHER,SPRING

4

01643-31232

WASHER

5

195-03-00180

SHIM ASS'Y

5

SHIM, 1.0MM

5

SHIM, 0.5MM

6

195-03-22500

ISOLATOR ASS'Y

7

01010-51240

BOLT

8

01643-31232

WASHER

9

01091-52200

BOLT

10

01643-32260

WASHER

11

01580-12218

NUT

12

209-03-11330

BRACKET

13

01010-51435

BOLT

14

01643-31445

WASHER

15

209-03-11340

BRACKET

16

01010-51230

BOLT

17

01643-31232

WASHER

18

198-03-21530

PLATE

19

01010-51075

BOLT

20

01643-31032

WASHER

21

195-03-22400

ISOLATOR ASS'Y

22

209-03-11310

BRACKET

23

209-03-11290

BRACKET

24

01091-52220

BOLT

25

01643-32260

WASHER

26

01582-12218

NUT

27

01010-51230

BOLT

28

01643-31232

WASHER

Выбрано товаров: 30