Запчасти Komatsu PC650-1 КРЕПЛЕНИЕ РАДИАТОРА (SD7)(№-) КОМПОНЕНТЫ ДВИГАТЕЛЯ И ЭЛЕКТРИКА

Схема запчастей Komatsu PC650-1 - КРЕПЛЕНИЕ РАДИАТОРА (SD7)(№-) КОМПОНЕНТЫ ДВИГАТЕЛЯ И ЭЛЕКТРИКА
FIT
1:1
100%

Артикул

Название

Примечание

Количество

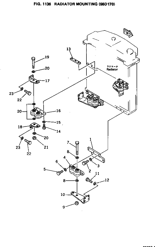
1

209-03-21290

SEAT

2

01010-51240

BOLT

3

01643-31232

WASHER

4

195-03-22500

ISOLATOR ASS'Y

5

01010-51240

BOLT

6

01643-31232

WASHER

7

01091-52200

BOLT

8

01643-32260

WASHER

9

01580-12218

NUT

10

209-03-11340

BRACKET

11

01010-51230

BOLT

12

01643-31232

WASHER

13

198-03-21530

PLATE

14

01010-51075

BOLT

15

01643-31032

WASHER

16

195-03-22400

ISOLATOR ASS'Y

17

209-03-21280

BRACKET

18

209-03-21270

BRACKET

19

01091-52220

BOLT

20

01643-32260

WASHER

21

01582-12218

NUT

22

01010-51230

BOLT

23

01643-31232

WASHER

Выбрано товаров: 23