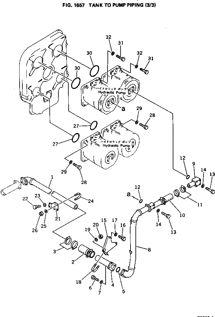
Запчасти Komatsu PC650-1 ИЗ БАКА В НАСОС ТРУБЫ (/) УПРАВЛ-Е РАБОЧИМ ОБОРУДОВАНИЕМ

Схема запчастей Komatsu PC650-1 - ИЗ БАКА В НАСОС ТРУБЫ (/) УПРАВЛ-Е РАБОЧИМ ОБОРУДОВАНИЕМ
FIT
1:1
100%

Артикул

Название

Примечание

Количество

1

209-62-31520

TUBE

2

07260-28732

HOSE

3

205-09-61110

CLAMP

4

209-62-31730

TUBE

4

209-62-31530

TUBE

5

07000-02095

O-RING

6

01010-51240

BOLT

7

01643-31232

WASHER

8

209-62-31540

TUBE

9

209-62-26570

TUBE

10

07260-05820

HOSE

11

205-09-61120

CLAMP

12

07000-02065

O-RING

13

01011-51205

BOLT

14

01643-31232

WASHER

15

209-62-31570

BRACKET

16

01010-51230

BOLT

17

01643-31232

WASHER

18

07283-38981

CLIP

19

01643-31232

WASHER

20

01599-01214

NUT

21

209-62-31610

BRACKET

22

01010-51235

BOLT

23

01643-31232

WASHER

24

07283-38973

CLIP

25

01643-31232

WASHER

26

01599-01214

NUT

27

07000-05170

O-RING

28

01010-52060

BOLT

29

01643-32060

WASHER

30

07000-02145

O-RING

31

01010-51655

BOLT

32

01643-31645

WASHER

Выбрано товаров: 33