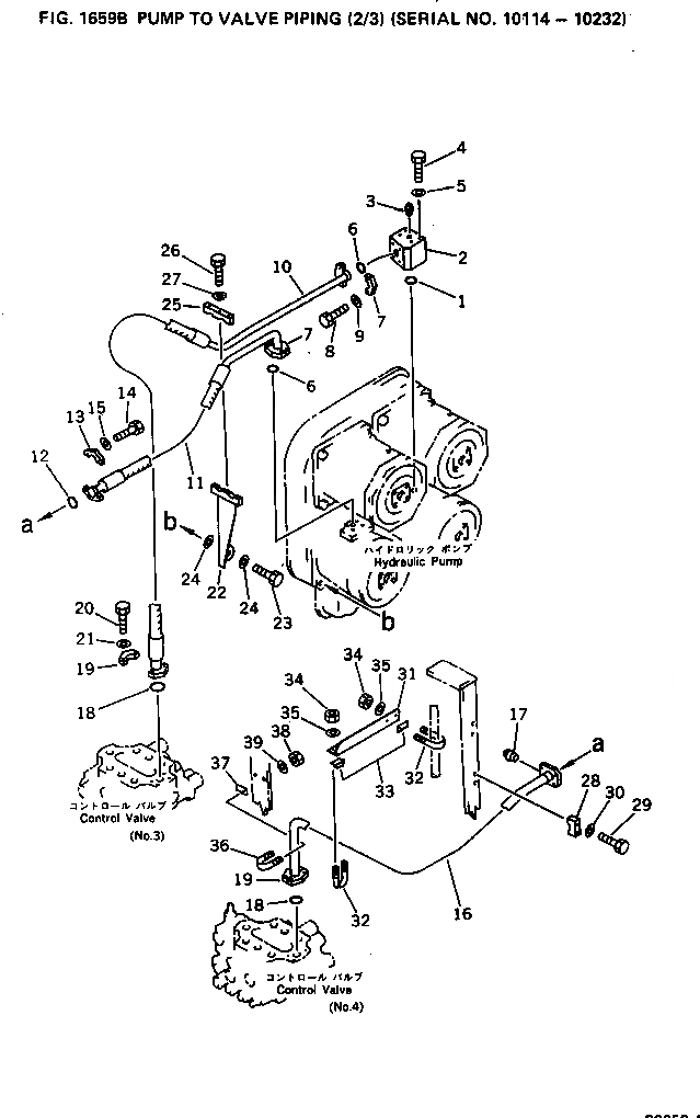
Запчасти Komatsu PC650-1 ИЗ НАСОСА В КЛАПАН ТРУБЫ (/)(№-) УПРАВЛ-Е РАБОЧИМ ОБОРУДОВАНИЕМ

Схема запчастей Komatsu PC650-1 - ИЗ НАСОСА В КЛАПАН ТРУБЫ (/)(№-) УПРАВЛ-Е РАБОЧИМ ОБОРУДОВАНИЕМ
FIT
1:1
100%

Артикул

Название

Примечание

Количество

1

07000-13035

O-RING

2

209-62-26131

BLOCK

3

07042-30108

PLUG

4

01010-51095

BOLT

5

01643-31032

WASHER

6

07000-13032

O-RING

7

07371-31049

FLANGE

8

07372-21035

BOLT

9

01643-51032

WASHER

10

209-62-26113

HOSE

11

209-62-26121

HOSE

12

07000-13038

O-RING

13

07371-51260

FLANGE

14

01010-51245

BOLT

15

01643-31232

WASHER

16

209-62-11593

TUBE

17

07042-30108

PLUG

18

07000-13038

O-RING

19

07371-51260

FLANGE

20

01010-51245

BOLT

21

01643-31232

WASHER

22

209-62-26450

BRACKET

23

01010-51670

BOLT

24

01643-31645

WASHER

25

209-62-26380

CLAMP

26

01010-51255

BOLT

27

01643-31232

WASHER

28

205-62-54460

CLAMP

29

01010-51255

BOLT

30

01643-31232

WASHER

31

209-62-31911

BRACKET

32

07283-33442

CLIP

33

07283-53444

SEAT

34

01599-01011

NUT

35

01643-31032

WASHER

36

07283-33450

CLIP

37

07283-53444

SEAT

38

01599-01011

NUT

39

01643-31032

WASHER

Выбрано товаров: 39