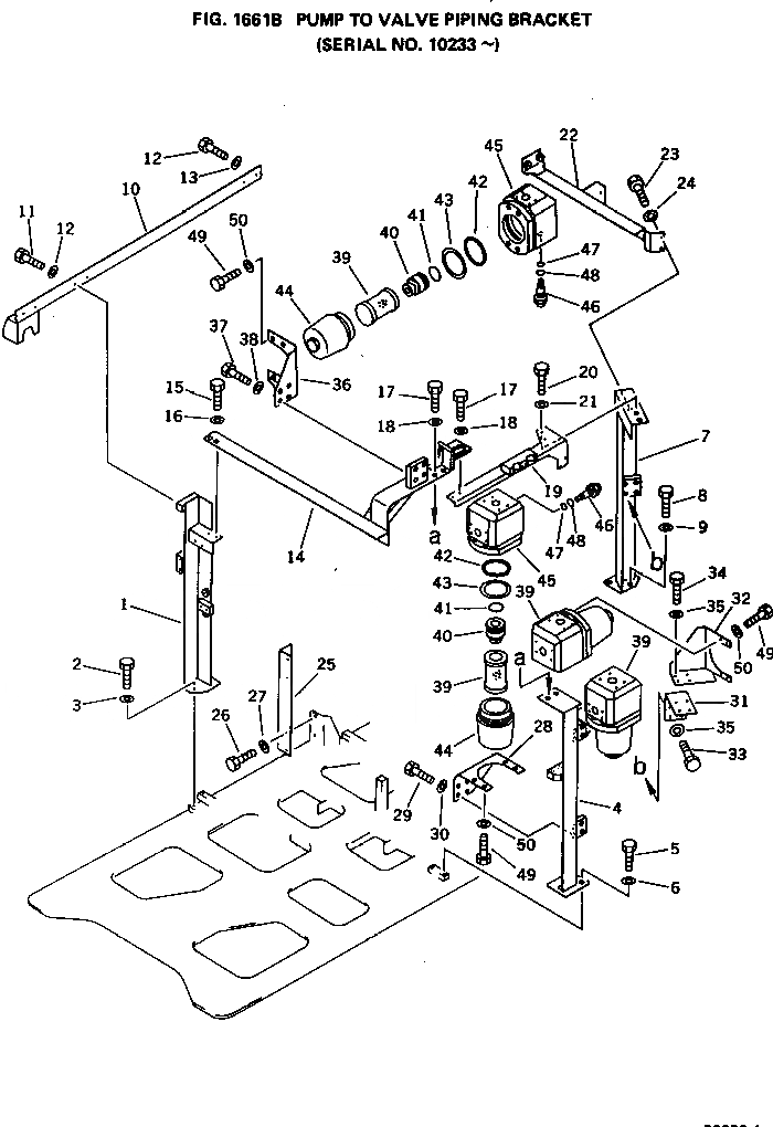
Запчасти Komatsu PC650-1 ИЗ НАСОСА В КЛАПАН КОРПУС ЛИНИИ(№-) УПРАВЛ-Е РАБОЧИМ ОБОРУДОВАНИЕМ

Схема запчастей Komatsu PC650-1 - ИЗ НАСОСА В КЛАПАН КОРПУС ЛИНИИ(№-) УПРАВЛ-Е РАБОЧИМ ОБОРУДОВАНИЕМ
FIT
1:1
100%

Артикул

Название

Примечание

Количество

1

209-62-32751

BRACKET

2

01010-51230

BOLT

3

01643-31232

WASHER

4

209-62-26313

BRACKET

5

01010-51230

BOLT

6

01643-31232

WASHER

7

209-62-26321

BRACKET

8

01010-51230

BOLT

9

01643-31232

WASHER

10

209-62-32541

BRACKET

11

01010-51230

BOLT

12

01010-51235

BOLT

13

01643-31232

WASHER

14

209-62-34922

BRACKET

15

01010-51230

BOLT

16

01643-31232

WASHER

17

01010-51235

BOLT

18

01643-31232

WASHER

19

209-62-34911

BRACKET

20

01010-51235

BOLT

21

01643-31232

WASHER

22

209-62-34760

BRACKET

23

01010-51235

BOLT

24

01643-31232

WASHER

25

209-62-34711

BRACKET

26

01010-51235

BOLT

27

01643-31232

WASHER

28

209-62-37880

BRACKET

29

01010-51230

BOLT

30

01643-31232

WASHER

31

209-62-37890

BRACKET

32

209-62-37910

BRACKET

33

01010-51230

BOLT

34

01010-51235

BOLT

35

01643-31232

WASHER

36

209-62-38120

NIPPLE

37

01010-51230

BOLT

38

01643-31232

WASHER

|$38

209-60-12900

STRAINER ASS'Y

39

21T-60-12460

STRAINER

40

209-60-12930

PLUG

41

07000-13040

O-RING

42

07000-12095

O-RING

43

07001-02095

RING,BACK-UP

44

209-60-12920

CASE

45

209-60-12910

CASE

46

21T-60-12471

INDICATOR

47

21T-60-12590

O-RING

48

21T-60-12610

O-RING

49

01010-51230

BOLT

50

01643-31232

WASHER

Выбрано товаров: 51