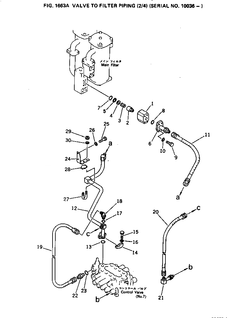
Запчасти Komatsu PC650-1 КЛАПАН - ФИЛЬТР. ТРУБЫ (/)(№-) УПРАВЛ-Е РАБОЧИМ ОБОРУДОВАНИЕМ

Схема запчастей Komatsu PC650-1 - КЛАПАН - ФИЛЬТР. ТРУБЫ (/)(№-) УПРАВЛ-Е РАБОЧИМ ОБОРУДОВАНИЕМ
FIT
1:1
100%

Артикул

Название

Примечание

Количество

|$0

209-60-00031

VALVE ASS'Y

1

209-62-14640

BODY

2

209-60-13111

POPPET

3

205-60-51360

SPRING

4

205-60-51370

SEAT

5

04065-03815

RING

6

209-62-33250

TUBE

7

07000-03048

O-RING

8

07000-03045

O-RING

9

01011-51215

BOLT

10

01643-31232

WASHER

11

07104-21407

HOSE

12

209-62-33271

TUBE

13

07000-13038

O-RING

14

07371-31255

FLANGE

15

07372-21035

BOLT

16

01643-51032

WASHER

17

07002-03334

O-RING

18

203-62-21810

ELBOW

19

07102-21010

HOSE

20

07103-21005

HOSE

21

205-62-67820

ELBOW

22

07230-11034

UNION

23

07002-03334

O-RING

24

209-62-34671

BRACKET

25

01010-51235

BOLT

26

01643-31232

WASHER

27

07283-34354

CLIP

28

07283-54353

SEAT

29

01599-01011

NUT

30

01643-31032

WASHER

Выбрано товаров: 31