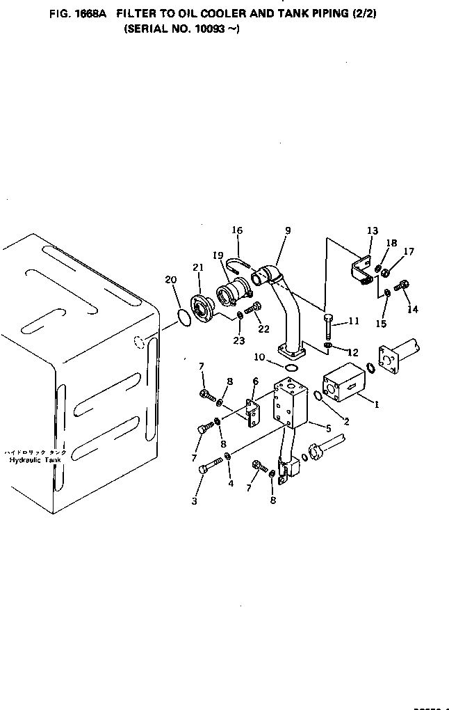
Запчасти Komatsu PC650-1 ФИЛЬТР. - МАСЛООХЛАДИТЕЛЬ И БАК ТРУБЫ (/)(№9-) УПРАВЛ-Е РАБОЧИМ ОБОРУДОВАНИЕМ

Схема запчастей Komatsu PC650-1 - ФИЛЬТР. - МАСЛООХЛАДИТЕЛЬ И БАК ТРУБЫ (/)(№9-) УПРАВЛ-Е РАБОЧИМ ОБОРУДОВАНИЕМ
FIT
1:1
100%

Артикул

Название

Примечание

Количество

1

209-60-12110

VALVE

2

07000-02060

O-RING

3

01011-52040

BOLT

4

01643-32060

WASHER

5

209-62-34240

TUBE

6

209-62-34350

BRACKET

7

01010-51230

BOLT

8

175-54-34170

WASHER

9

209-62-34250

TUBE

10

07000-02070

O-RING

11

01010-51245

BOLT

12

01643-31232

WASHER

13

209-62-34360

BRACKET

14

01010-51220

BOLT

15

175-54-34170

WASHER

16

07283-27663

CLIP

17

01599-01011

NUT

18

01643-31032

WASHER

19

07332-02400

COUPLING

20

07000-02095

O-RING

21

209-62-34260

TUBE

22

01010-51235

BOLT

23

01643-31232

WASHER

Выбрано товаров: 23