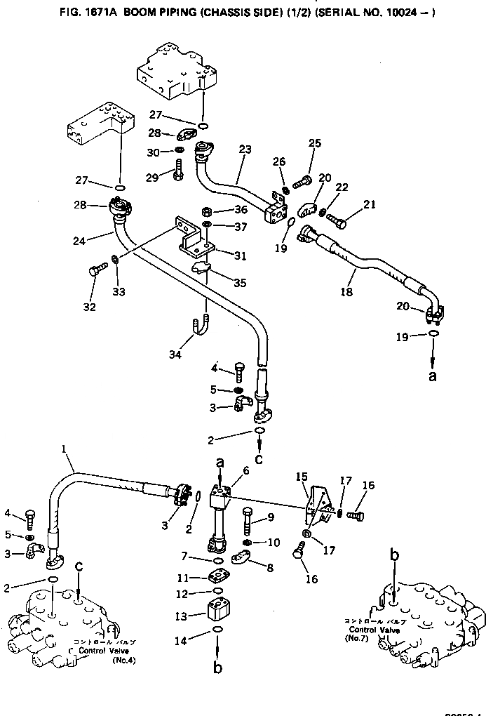
Запчасти Komatsu PC650-1 ТРУБЫ СТРЕЛЫ (ШАССИ) (/)(№-) УПРАВЛ-Е РАБОЧИМ ОБОРУДОВАНИЕМ

Схема запчастей Komatsu PC650-1 - ТРУБЫ СТРЕЛЫ (ШАССИ) (/)(№-) УПРАВЛ-Е РАБОЧИМ ОБОРУДОВАНИЕМ
FIT
1:1
100%

Артикул

Название

Примечание

Количество

1

07099-01007

HOSE

2

07000-13032

O-RING

3

07371-31049

FLANGE

4

07372-21035

BOLT

5

01643-51032

WASHER

6

209-62-32190

TUBE

7

07000-13032

O-RING

8

07371-31049

FLANGE

9

205-62-51310

BOLT

10

01643-51032

WASHER

11

209-62-31280

FLANGE

12

07000-13035

O-RING

13

205-60-51200

VALVE ASS'Y

14

07000-13032

O-RING

15

209-62-32611

BRACKET

16

01010-51225

BOLT

17

01643-31232

WASHER

18

07098-01207

HOSE

19

07000-13038

O-RING

20

07371-51260

FLANGE

21

01010-51245

BOLT

22

01643-31232

WASHER

23

209-62-32180

TUBE

24

209-62-31850

TUBE

25

01010-51230

BOLT

26

01643-31232

WASHER

27

07000-13038

O-RING

28

07371-51260

FLANGE

29

01010-51245

BOLT

30

01643-31232

WASHER

31

209-62-31931

BRACKET

31

209-62-31930

BRACKET

32

01010-51230

BOLT

33

01643-31232

WASHER

34

07283-34354

CLIP

35

07283-54353

SEAT

36

01599-01011

NUT

37

01643-31032

WASHER

Выбрано товаров: 38